授权公布号:CN215963401U
一种带有多种原料同步配比结构的wpc地板混料机
有效
申请
2021-07-19
申请公布
1970-01-01
授权
2022-03-08
预估到期
2031-07-19
| 申请号 | CN202121628711.5 |
| 申请日 | 2021-07-19 |
| 授权公布号 | CN215963401U |
| 授权公告日 | 2022-03-08 |
| 分类号 | B01F35/71;B01F35/80 |
| 分类 | 一般的物理或化学的方法或装置; |
| 申请人名称 | 江苏鹏湃装饰材料有限公司 |
| 申请人地址 | 江苏省镇江市丹阳市丹北镇埤城通港路徐家村 |
专利法律状态
2022-03-08
授权
状态信息
授权
摘要
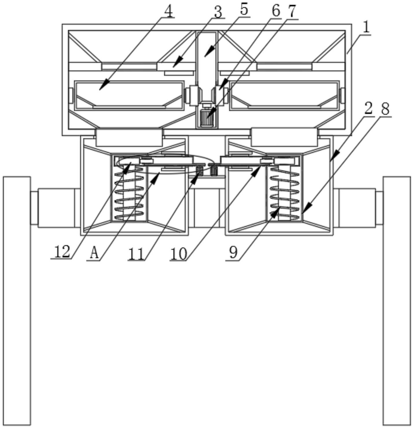
一种带有多种原料同步配比结构的wpc地板混料机,包括分流壳,分流壳的内部固定连接有固定板,固定板的内部设有两个翻转机构,固定板的两侧壁上均焊接有支撑板,分流壳的底端面上对称焊接有多个出料壳,每个出料壳通过支撑块与支撑腿固定连接,每个出料壳的内部通过连接杆固定焊接有固定壳,固定壳的内部设有转动机构,有益效果是:可以实现对多种物料同时进行配比操作,使得进料更加准确,同时具有使物料一恒定的速度进行下料操作,从而实现不同重量的物料,可以以相同时间进行出料操作。


