授权公布号:CN215985546U
一种地板基材制备用强度检测设备
有效
申请
2021-07-19
申请公布
1970-01-01
授权
2022-03-08
预估到期
2031-07-19
| 申请号 | CN202121648903.2 |
| 申请日 | 2021-07-19 |
| 授权公布号 | CN215985546U |
| 授权公告日 | 2022-03-08 |
| 分类号 | G01N3/12 |
| 分类 | 测量;测试; |
| 申请人名称 | 江苏鹏湃装饰材料有限公司 |
| 申请人地址 | 江苏省镇江市丹阳市丹北镇埤城通港路徐家村 |
专利法律状态
2022-03-08
授权
状态信息
授权
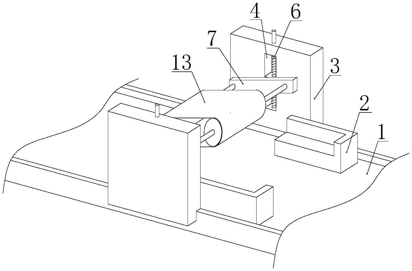
摘要
一种地板基材制备用强度检测设备,包括输送带,输送带的带面两侧相对固定连接有板材卡槽,输送带的支架两侧相对固定连接有两个架板,两个架板相互靠近的一侧均设有连接板,连接板之间设有挤压传动带,本实用新型具有以下优点:本装置通过在板材的输送带上设置挤压传动带与板材卡槽,当板材卡槽带动板材向挤压传动带移动时,逐渐被挤压传动带挤压,不合格的产品被挤压断裂,实现板材的全体检测,提高质检的精准性;挤压传动带能够在滑块的带动下上下移动调节,可根据板材强度需求进行调节,提高检测的灵活性。


