授权公布号:CN215707034U
一种防侧翻游泳圈
有效
申请
2021-04-28
申请公布
1970-01-01
授权
2022-02-01
预估到期
2031-04-28
| 申请号 | CN202120899825.7 |
| 申请日 | 2021-04-28 |
| 授权公布号 | CN215707034U |
| 授权公告日 | 2022-02-01 |
| 分类号 | B63C9/135;B63C9/20 |
| 分类 | 船舶或其他水上船只;与船有关的设备; |
| 申请人名称 | 广州欧培科技股份有限公司 |
| 申请人地址 | 广东省广州市黄埔区开创大道1936号1406房 |
专利法律状态
2022-02-01
授权
状态信息
授权
摘要
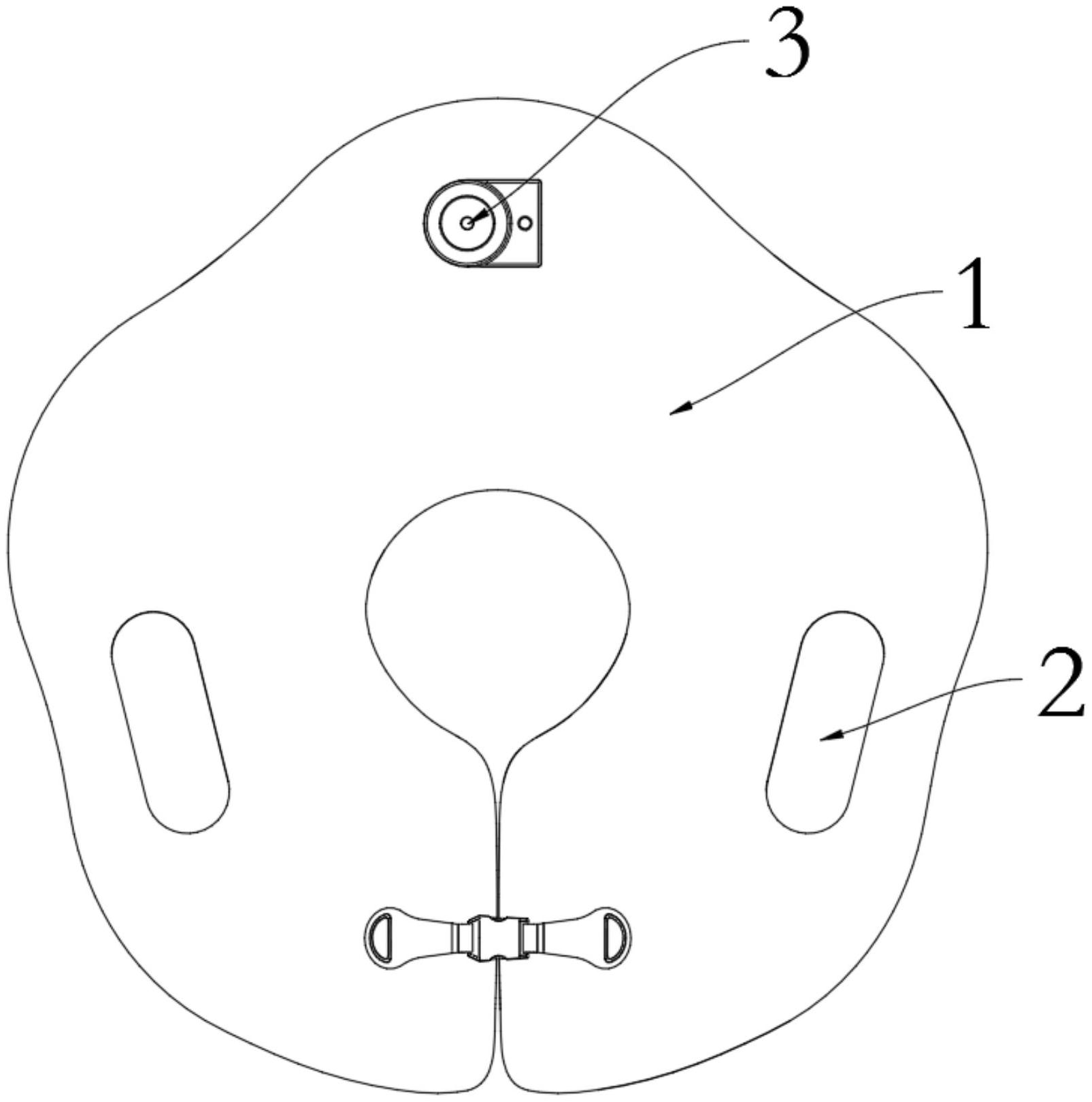
本实用新型提供一种防侧翻游泳圈,包括游泳圈本体、防侧翻传感器及示警装置;所述防侧翻传感器设置于所述游泳圈本体的下方,所述示警装置与所述防侧翻传感器连接,所述防侧翻传感器用于检测所述游泳圈本体的姿态,所述示警装置用于当游泳圈本体发生侧翻时进行报警。本实用新型中,通过游泳圈本体下端离水感应传感器与姿态传感器的设置,游泳圈本体发生翻转的时候,离水感应传感器脱离水面,发出警报,并且侧翻之后姿态传感器的姿态也会发生改变,同样也会发出警报,从而提醒大人赶紧处理,避免意外的发生。


