授权公布号:CN214604865U
一种复合地板生产用裁切设备
有效
申请
2020-12-30
申请公布
1970-01-01
授权
2021-11-05
预估到期
2030-12-30
| 申请号 | CN202023261082.5 |
| 申请日 | 2020-12-30 |
| 授权公布号 | CN214604865U |
| 授权公告日 | 2021-11-05 |
| 分类号 | B27C5/00;B27G3/00 |
| 分类 | 木材或类似材料的加工或保存;一般钉钉机或钉U形钉机; |
| 申请人名称 | 湖北健居乐建材有限公司 |
| 申请人地址 | 湖北省孝感市孝南区东山头工业园东区 |
专利法律状态
2022-06-24
专利申请权、专利权的转移
状态信息
专利权的转移;IPC(主分类):B27C5/00;专利号:ZL2020232610825;登记生效日:20220614;变更事项:专利权人;变更前权利人:湖北健居乐建材有限公司;变更后权利人:湖北紫竹林科技发展有限公司;变更事项:地址;变更前权利人:430040 湖北省武汉市东西湖区东西湖大道特1号武汉农贸大市场交易8区2栋94号(8);变更后权利人:432000 湖北省孝感市孝南区东山头工业园东区
2021-11-05
授权
状态信息
授权
摘要
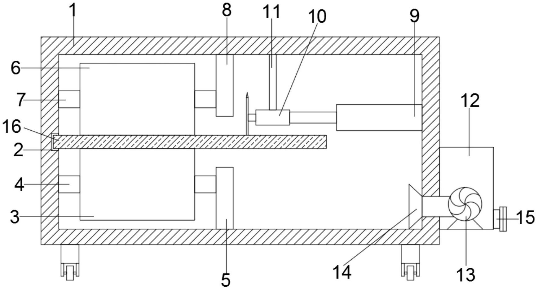
本实用新型公开了一种复合地板生产用裁切设备,包括箱体,箱体包括传送机构、裁切机构和清理机构;传送机构包括主动传送带和从动传送带;裁切机构包括电动推杆、切割机和安装杆,电动推杆的活动端固定切割机,切割机的顶部固定安装杆,安装杆顶部滑动限制在箱体顶板内部;清理机构包括收集室和吸入管道,收集室内部安装有吸泵,吸泵的吸入端连通吸入管道。本实用新型中利用主动传送带和从动传送带对复合地板进行支撑与传送,裁切过程一直保持直线裁切;由于裁切过程中,人员不进行手动操作,设置了清理机构,产生的大量木屑扬尘被吸泵吸入收集室,对操作人员无危害。


