授权公布号:CN214004748U
一种五金废料集中回收处理装置
有效
申请
2020-12-30
申请公布
1970-01-01
授权
2021-08-20
预估到期
2030-12-30
| 申请号 | CN202023261083.X |
| 申请日 | 2020-12-30 |
| 授权公布号 | CN214004748U |
| 授权公告日 | 2021-08-20 |
| 分类号 | C22B7/00;B07B4/02 |
| 分类 | 冶金;黑色或有色金属合金;合金或有色金属的处理; |
| 申请人名称 | 湖北健居乐建材有限公司 |
| 申请人地址 | 湖北省武汉市东西湖区东西湖大道特1号武汉农贸大市场交易8区2栋94号(8) |
专利法律状态
2021-08-20
授权
状态信息
授权
摘要
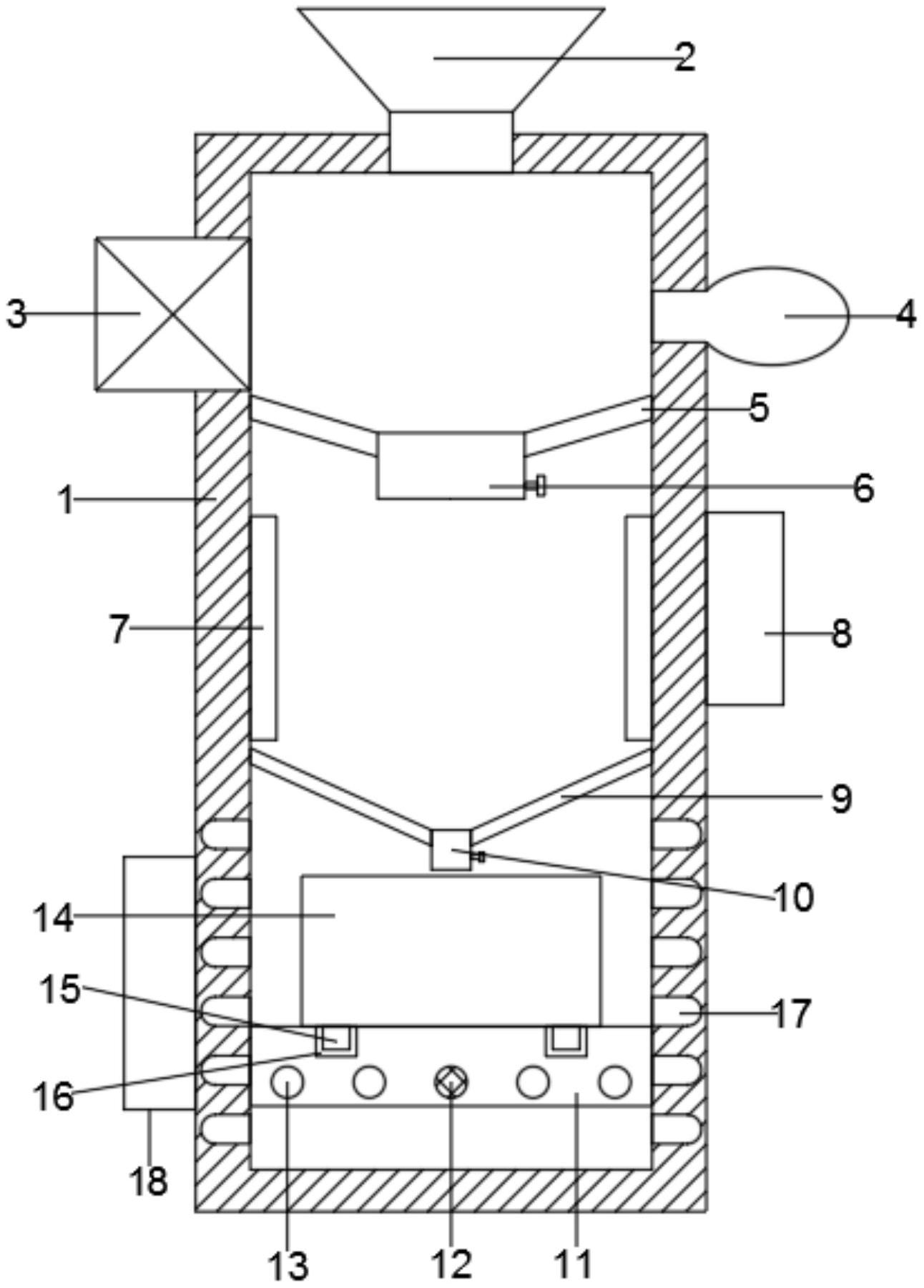
本实用新型公开了一种五金废料集中回收处理装置,包括箱体,箱体顶部固定有进料斗,箱体从上往下依次被上隔板和下隔板分隔为分离室、熔融室和重铸室;分离室一侧固定有风机,另一侧固定有集尘袋,上隔板中间处固定有第一下料管;熔融室内壁固定有一圈加热板,下隔板中间处固定有第二下料管;重铸室一侧通过合页连接取放门,另一侧转动支撑有往复丝杆,重铸室一侧固定有导向杆,往复丝杆和导向杆套设有滑动板,滑动板上端卡接有重铸模具,重铸室安装有冷凝盘管。本实用新型中设置熔融室对废料进行熔融,不浪费资源也不占用额外的存储空间;在进行熔融前,对废料中的灰尘进行分离,使得熔融的液态废料减少灰尘杂质含量。


