授权公布号:CN214644426U
一种家用衣柜加工用板材固定工装
有效
申请
2020-12-30
申请公布
1970-01-01
授权
2021-11-09
预估到期
2030-12-30
| 申请号 | CN202023258507.7 |
| 申请日 | 2020-12-30 |
| 授权公布号 | CN214644426U |
| 授权公告日 | 2021-11-09 |
| 分类号 | B27C5/06 |
| 分类 | 木材或类似材料的加工或保存;一般钉钉机或钉U形钉机; |
| 申请人名称 | 湖北健居乐建材有限公司 |
| 申请人地址 | 湖北省孝感市孝南区东山头工业园 |
专利法律状态
2023-09-01
专利申请权、专利权的转移
状态信息
专利权的转移;IPC(主分类):B27C5/06;专利号:ZL2020232585077;登记生效日:20230815;变更事项:专利权人;变更前权利人:湖北健居乐建材有限公司;变更后权利人:湖北桦诚装饰材料科技有限公司;变更事项:地址;变更前权利人:430040 湖北省武汉市东西湖区东西湖大道特1号武汉农贸大市场交易8区2栋94号(8);变更后权利人:432000 湖北省孝感市孝南区东山头工业园
2021-11-09
授权
状态信息
授权
摘要
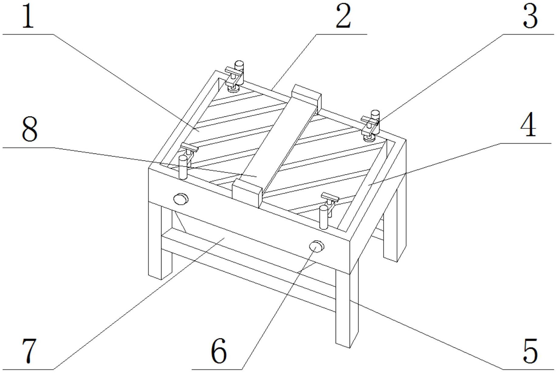
本实用新型公开了一种家用衣柜加工用板材固定工装,包括支撑腿,所述支撑腿的内侧固定安装有集尘箱,所述支撑腿的上方固定安装有外框,所述外框的侧表面上活动安装有固定销,所述外框上活动安装有夹具;固定板的下方设置有若干组弹簧,利用夹具下压将板材固定在固定板上,当夹具固定过紧,下压力由弹簧缓冲分摊到板材的各处,从而有效保护板材,避免板材受力过大受损,当夹具固定过松,板材会受到固定板向上的压力,固定更牢固,使用效果更好,同时设置外框可以通过转轴与外框转动连接,清洁时,只需将外框转动倾斜,即可将碎木屑灰尘倾倒入集尘箱,清洁十分方便,省时省力,方便我们生产使用。


