授权公布号:CN207979604U
一种秸秆马桶盖
有效
申请
2017-07-03
申请公布
1970-01-01
授权
2018-10-19
预估到期
2027-07-03
| 申请号 | CN201720794415.X |
| 申请日 | 2017-07-03 |
| 授权公布号 | CN207979604U |
| 授权公告日 | 2018-10-19 |
| 分类号 | A47K13/00;A47K13/24;A47K13/12;A47K13/14;A61L2/10 |
| 分类 | 家具;家庭用的物品或设备;咖啡磨;香料磨;一般吸尘器; |
| 申请人名称 | 浙江恒源洁具股份有限公司 |
| 申请人地址 | 浙江省台州市临海市经济开发区东渡路 |
专利法律状态
2018-10-19
授权
状态信息
授权
摘要
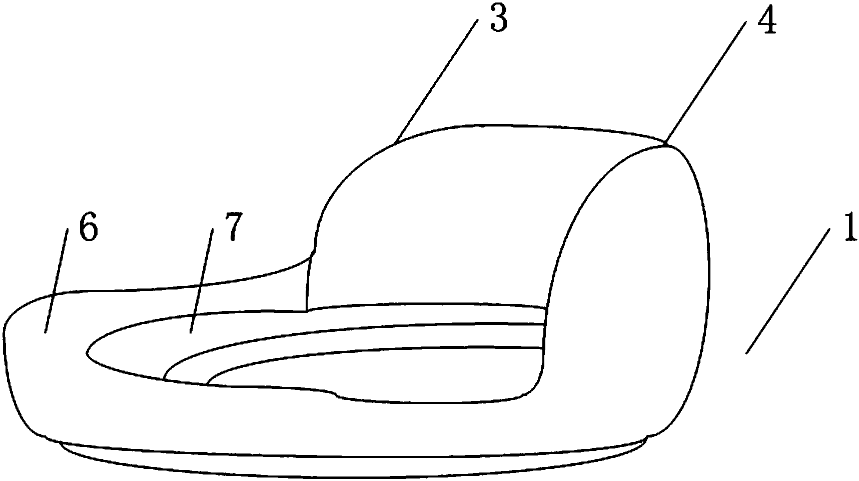
本实用新型属于智能马桶技术领域,具体涉及一种秸秆马桶盖。一种秸秆马桶盖,包括座圈1和盖板2,所述座圈和盖板铰链,所述座圈和盖板的基材采用麦秸秆人造板,基材不含甲醛的粘合剂,基材原料为麦秸秆、玉米秸、高粱杆、稻杆、甘庶渣中的一种,所述的盖板为与座圈形状相配合的用于遮盖马桶的板体,在座圈对应人体坐下时手肘的位置区域开始到后背区域,座圈外侧设有扶手3和靠背4,所述的扶手和靠背一体成型,外沿的形状与座圈外沿的形状相配合,竖直方向的形状从扶手到靠背为从座圈开始上升的流线型。相比传统的木质类马桶盖,秸秆马桶盖进一步提高了防水防潮性能,使产品在受潮湿的环境下,不易产生发霉、开裂等现象,延长了产品的使用寿命。


