授权公布号:CN209235989U
一种智能坐便器盖的适配安装底座
有效
申请
2018-08-28
申请公布
1970-01-01
授权
2019-08-13
预估到期
2028-08-28
| 申请号 | CN201821395101.3 |
| 申请日 | 2018-08-28 |
| 授权公布号 | CN209235989U |
| 授权公告日 | 2019-08-13 |
| 分类号 | A47K13/26;A47K13/28 |
| 分类 | 家具;家庭用的物品或设备;咖啡磨;香料磨;一般吸尘器; |
| 申请人名称 | 厦门卫鹰科技有限公司 |
| 申请人地址 | 福建省厦门市集美区九天湖路228号三层 |
专利法律状态
2019-08-13
授权
状态信息
授权
摘要
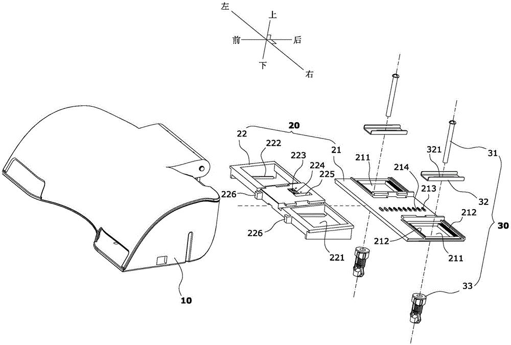
本实用新型公开的一种智能坐便器盖的适配安装底座,包括一机座以及一装接在机座和陶瓷坐便器后部顶面之间的连接板,连接板用螺栓组件与陶瓷坐便器上的安装孔固定,连接板包括一与陶瓷坐便器连接的底板和一与机座固接的顶板;底板可在陶瓷坐便器上前后左右位移调节位置后用螺栓组件固定,顶板可在底板上前后位移调节位置后锁接固定;安装板通过底板在陶瓷坐便器上前后左右移动调节位置后用螺栓组件固定,顶板在底板上前后滑动调节位置后锁定,大大增加智能坐便器盖在不同规格陶瓷坐便器上的安装适配范围;本实用新型的安装板结构简单,其将智能坐便器盖连接在陶瓷坐便器上的操作便捷。


