授权公布号:CN212023839U
家具板封边传送装置
有效
申请
2020-04-29
申请公布
1970-01-01
授权
2020-11-27
预估到期
2030-04-29
| 申请号 | CN202020686369.3 |
| 申请日 | 2020-04-29 |
| 授权公布号 | CN212023839U |
| 授权公告日 | 2020-11-27 |
| 分类号 | B65G23/44 |
| 分类 | 输送;包装;贮存;搬运薄的或细丝状材料; |
| 申请人名称 | 山东千森木业集团有限公司 |
| 申请人地址 | 山东省临沂市费县上冶镇工业园 |
专利法律状态
2020-11-27
授权
状态信息
授权
摘要
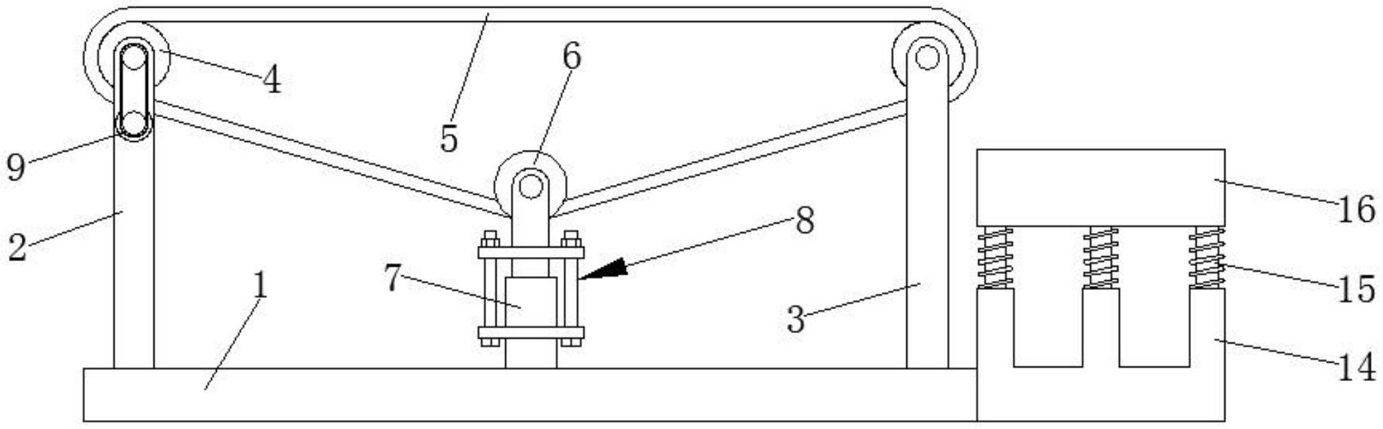
本实用新型公开了家具板封边传送装置,包括固定座、第一支撑杆、收集皿和固定装置,所述固定座顶端对称焊接有两组第一支撑杆,所述固定座顶端远离第一支撑杆一侧对称焊接有两组第二支撑杆,所述固定座顶端的中心位置对称焊接有两组伸缩杆,两组所述伸缩杆外周均设置有固定装置,所述固定座右侧设置有收集皿;两组所述第一支撑杆之间活动连接有转动杆,所述转动杆外周焊接有一组主动辊,一组所述第一支撑杆竖向外壁固定连接有驱动电机,所述驱动电机的输出端通过皮带与导辊传动连接,两组所述第二支撑杆之间转动连接有另一组主动辊,两组所述伸缩杆之间活动连接有张紧辊。该家具板封边传送装置,具有很好的稳固性。


