授权公布号:CN207823420U
一种罐头真空检测设备
有效
申请
2017-10-25
申请公布
1970-01-01
授权
2018-09-07
预估到期
2027-10-25
| 申请号 | CN201721380342.6 |
| 申请日 | 2017-10-25 |
| 授权公布号 | CN207823420U |
| 授权公告日 | 2018-09-07 |
| 分类号 | B07C5/34;B07C5/02 |
| 分类 | 将固体从固体中分离;分选; |
| 申请人名称 | 佛山市顺德区粤花罐头食品有限公司 |
| 申请人地址 | 广东省佛山市顺德区容桂兴裕路3号 |
专利法律状态
2018-09-07
授权
状态信息
授权
摘要
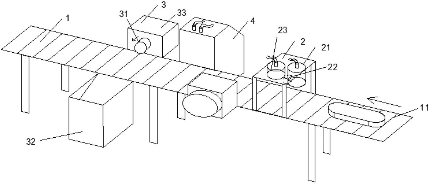
一种罐头真空检测设备,其特征在于,包括自动输送装置、检测装置、推送装置以及控制装置,所述控制装置分别与所述自动输送装置、检测装置、推送装置电性连接,所述控制装置和所述推送装置分别设置于所述自动输送装置的一侧或者两侧,所述检测装置包括打点仪以及声波接收装置,所述打点仪敲击待检产品发出声波,所述声波接收装置接收从待检产品发出的声波并发送声波数据给所述控制装置,所述控制装置控制所述推送装置工作,能够快速地精准地判断出罐头内真空情况和罐头是否变形,避免了人工判断的误差,提高了检测的速度。


