授权公布号:CN218136452U
一种水龙头加工用工装夹具
有效
申请
2022-08-18
申请公布
1970-01-01
授权
2022-12-27
预估到期
2032-08-18
| 申请号 | CN202222169742.X |
| 申请日 | 2022-08-18 |
| 授权公布号 | CN218136452U |
| 授权公告日 | 2022-12-27 |
| 分类号 | B23Q3/06;B23Q1/25 |
| 分类 | 机床;不包含在其他类目中的金属加工; |
| 申请人名称 | 浙江科恩洁具有限公司 |
| 申请人地址 | 浙江省台州市三门县浦坝港镇(浙江三门沿海工业城沿九路) |
专利法律状态
2022-12-27
授权
状态信息
授权
摘要
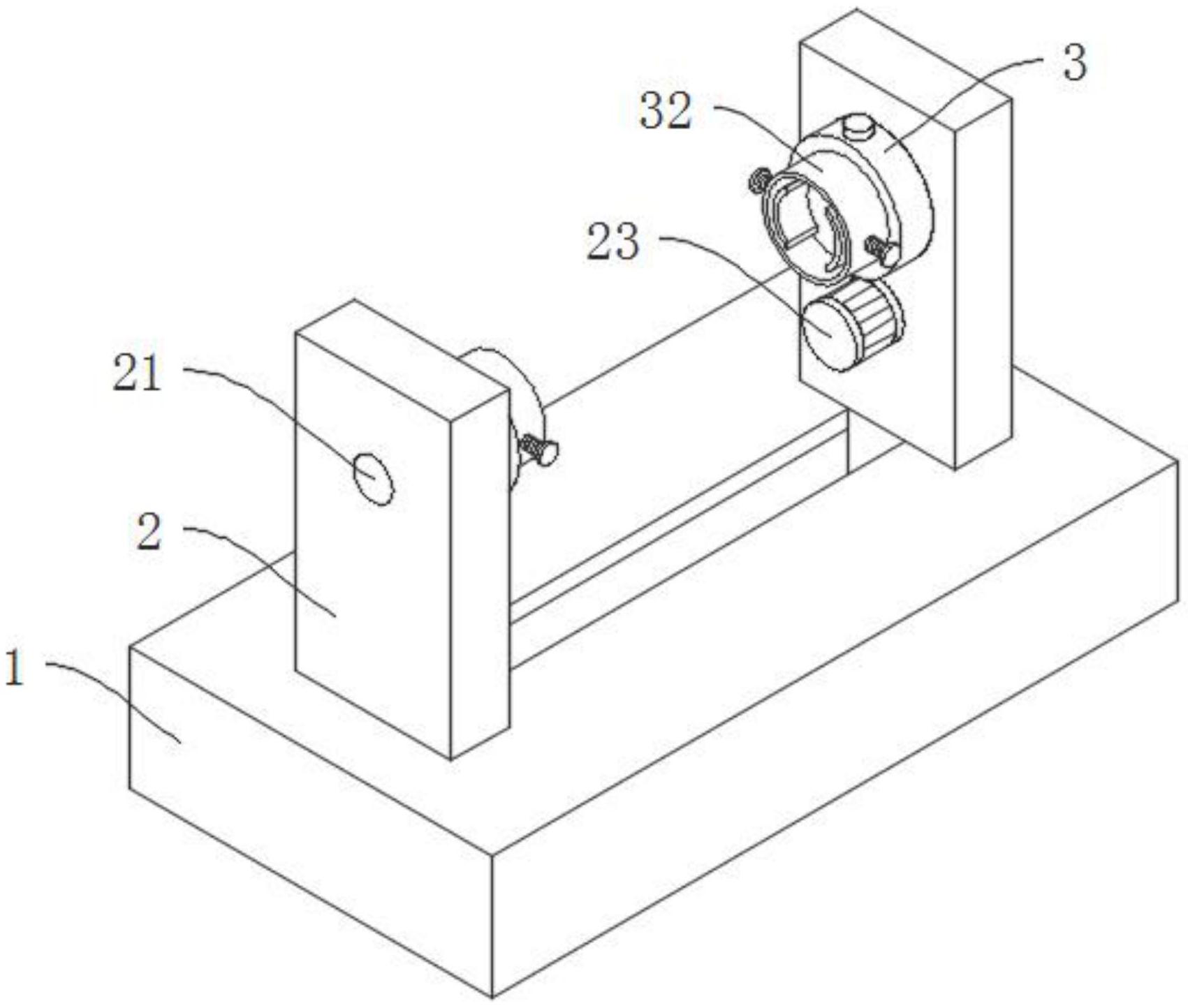
本实用新型公开了一种水龙头加工用工装夹具,属于水龙头加工技术领域,包括支撑座以及活动连接于支撑座表面的两个定位板,两个所述定位板上均开设有通孔,且定位板的通孔内转动连接有连接柱,所述定位板的一侧外壁安装有旋转电机,所述旋转电机的输出轴的外壁固定连接有主动齿轮,所述连接柱的外壁固定连接有与主动齿轮相啮合的从动齿轮,两个所述连接柱的相对面均固定连接有连接盒,两个所述连接盒的相对面均开设有安装孔,所述连接盒的安装孔内插接有定位块,两个所述定位块的相对面均固定连接有固定套筒。该水龙头加工用工装夹具,能够在不反复拆装水龙头的前提下,对水龙头的角度进行调整,有效提高了加工效率。


