授权公布号:CN218463177U
一种多重阻燃LVL单板层积材
有效
申请
2022-10-27
申请公布
1970-01-01
授权
2023-02-10
预估到期
2032-10-27
| 申请号 | CN202222832777.7 |
| 申请日 | 2022-10-27 |
| 授权公布号 | CN218463177U |
| 授权公告日 | 2023-02-10 |
| 分类号 | B32B7/12;B32B27/36;B32B27/06;B32B27/30;B32B27/08;B32B33/00 |
| 分类 | 层状产品; |
| 申请人名称 | 江苏福庆木业有限公司 |
| 申请人地址 | 江苏省宿迁市沭阳县青伊湖镇滥洪村(滥洪大转盘北侧300米处) |
专利法律状态
2023-02-10
授权
状态信息
授权
摘要
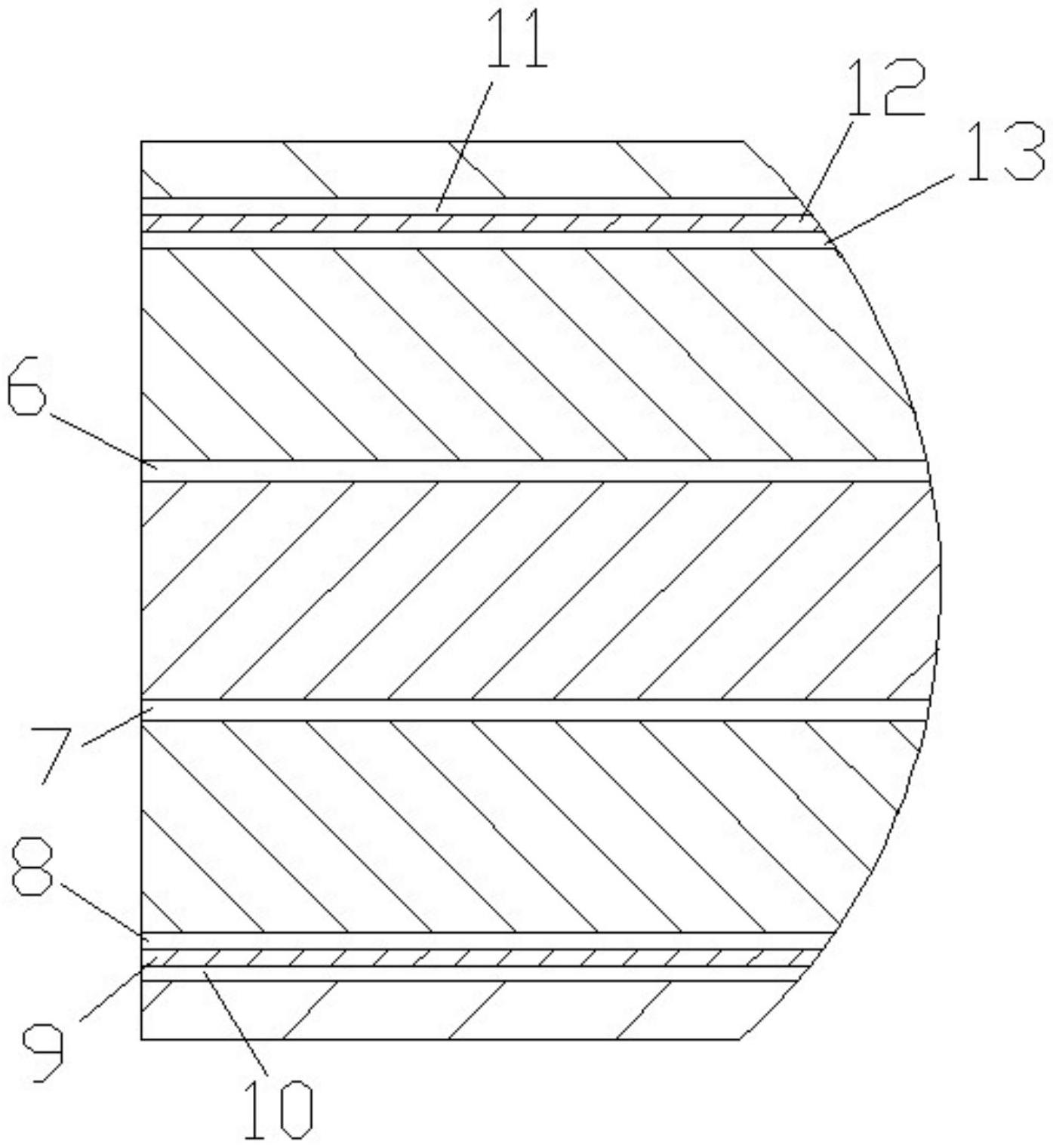
本实用新型公开了一种多重阻燃LVL单板层积材,其包括:第一厚单板、第二厚单板、第三厚单板、第一木纹膜和第一防水阻燃薄膜,所述第一厚单板设置在第二厚单板的上方,所述第一厚单板与第二厚单板之间设置有第一阻燃胶层,所述第三厚单板设置在第二厚单板的下方,所述第三厚单板与第二厚单板之间设置有第二阻燃胶层,所述第一厚单板的上表面设置有第三阻燃胶层,所述第一防水阻燃薄膜设置在第三阻燃胶层的上方,所述第一防水阻燃薄膜的上表面设置有第四阻燃胶层,所述第一木纹膜设置在第四阻燃胶层上方。本实用新型所述的多重阻燃LVL单板层积材,通过第一木纹膜、第四阻燃胶层、第一防水阻燃薄膜和第三阻燃胶层进行多重阻燃,提升了阻燃效果。


