授权公布号:CN217569815U
一种大米加工除尘装置
有效
申请
2022-05-25
申请公布
1970-01-01
授权
2022-10-14
预估到期
2032-05-25
| 申请号 | CN202221262185.X |
| 申请日 | 2022-05-25 |
| 授权公布号 | CN217569815U |
| 授权公告日 | 2022-10-14 |
| 分类号 | B08B1/04;B08B3/10;B08B13/00;F26B21/00 |
| 分类 | 清洁; |
| 申请人名称 | 洪湖市洪湖浪米业有限责任公司 |
| 申请人地址 | 湖北省荆州市洪湖市新堤文泉大道大兴工业园 |
专利法律状态
2022-10-14
授权
状态信息
授权
摘要
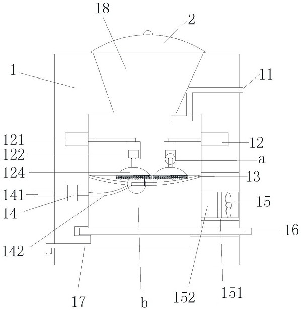
本实用新型提供了一种大米加工除尘装置,包括除尘箱与盖板,除尘箱设有进料口,除尘箱安装有盖板,除尘箱设有进料口,除尘箱安装有输水管,除尘箱安装有气缸,气缸安装有伸缩杆,气缸安装有电机,气缸安装有密封环,气缸安装有毛刷,除尘箱安装有清洗池,清洗池安装有活动口,清洗池对称安装有海绵塞,清洗池安装有转动轴,清洗池安装有出水口,出水口安装有第一过滤网,除尘箱安装有水泵,水泵安装有第一出水管,水泵安装有运水管,除尘箱安装有风机,风机安装有加热网,除尘箱安装有过滤网,除尘箱安装有第二出水管,本实用新型通过设置清洗池、毛刷与风机,可以将大米上的灰尘清洗掉,且通过风机对大米进行风干处理。


