授权公布号:CN209279592U
一种用于海鲜制品的改进风干设备
有效
申请
2018-10-21
申请公布
1970-01-01
授权
2019-08-20
预估到期
2028-10-21
| 申请号 | CN201821703448.X |
| 申请日 | 2018-10-21 |
| 授权公布号 | CN209279592U |
| 授权公告日 | 2019-08-20 |
| 分类号 | F26B11/18;F26B21/00;F26B25/18;F26B25/00 |
| 分类 | 干燥; |
| 申请人名称 | 海南昌之茂食品有限公司 |
| 申请人地址 | 海南省海口市美兰区桂林洋经济开发区 |
专利法律状态
2019-08-20
授权
状态信息
授权
摘要
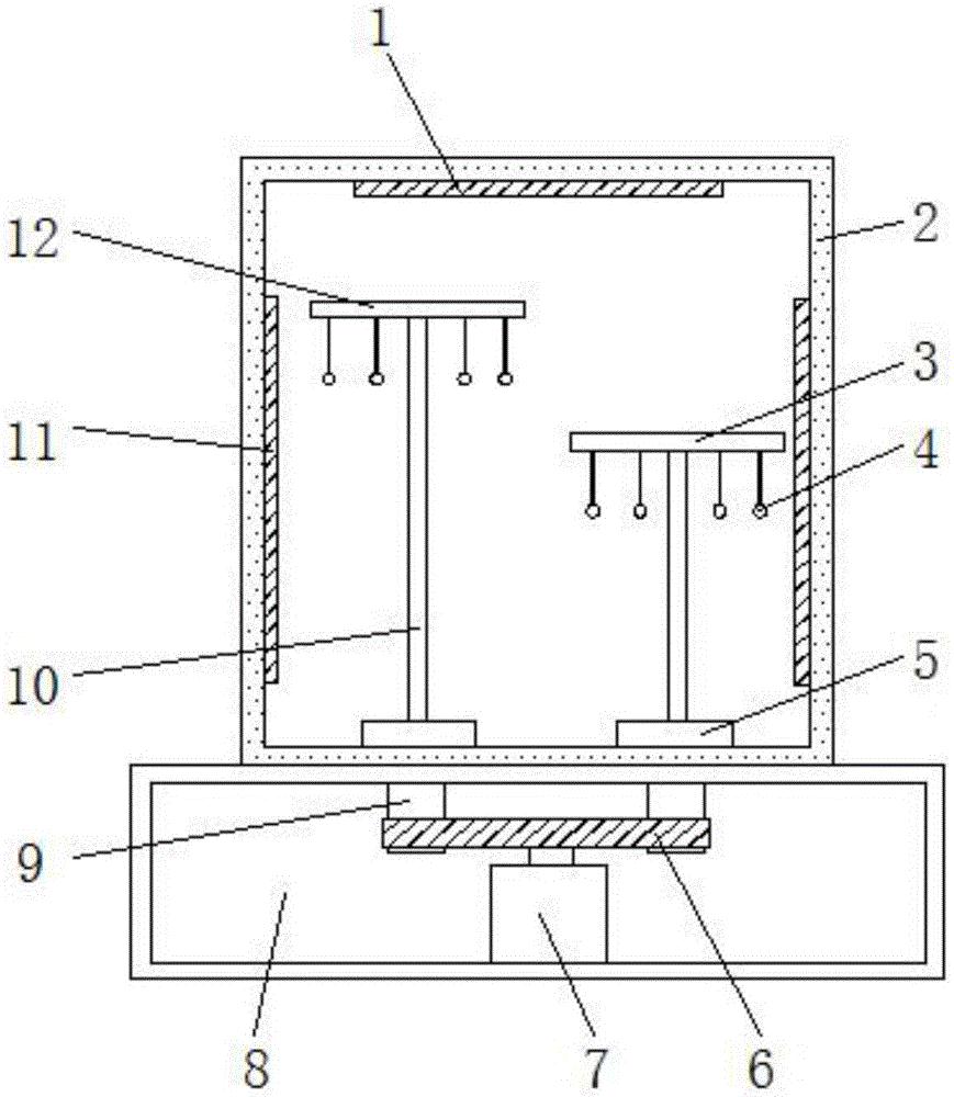
本实用新型公开了一种用于海鲜制品的改进风干设备,该种实用新型设计合理,通过在该设备的内部上端设置有第一加工箱,在该设备的内部两侧壁设置有第二加工箱,第一加工箱和第二加工箱上均设置有吹风扇和暖灯,吹风扇能够对晾在第一架台和第二架台上的海鲜制品进行吹风工作,使得其在快速风流速的情况下进行风干工作,湿润的环境下可以打开暖灯,使得设备内部的第一架台和第二架台上晾晒的海鲜制品拥有一个干燥的风干环境,且第一架台和第二架台的底端与传动电机之间是相互传动连接的,使得第一架台和第二架台相对于风干箱的内部为可转动结构,相对于风干箱内部为可转动的第一架台和第二架台,有助于其上面悬挂海鲜的均匀且快速的风干工作。


