授权公布号:CN214611425U
一种可调节升降台
有效
申请
2021-02-27
申请公布
1970-01-01
授权
2021-11-05
预估到期
2031-02-27
| 申请号 | CN202120432890.9 |
| 申请日 | 2021-02-27 |
| 授权公布号 | CN214611425U |
| 授权公告日 | 2021-11-05 |
| 分类号 | B66F19/00;B62B5/00;F16J15/06 |
| 分类 | 卷扬;提升;牵引; |
| 申请人名称 | 唐山广野食品集团有限公司 |
| 申请人地址 | 河北省唐山市遵化市工业园区 |
专利法律状态
2021-11-05
授权
状态信息
授权
摘要
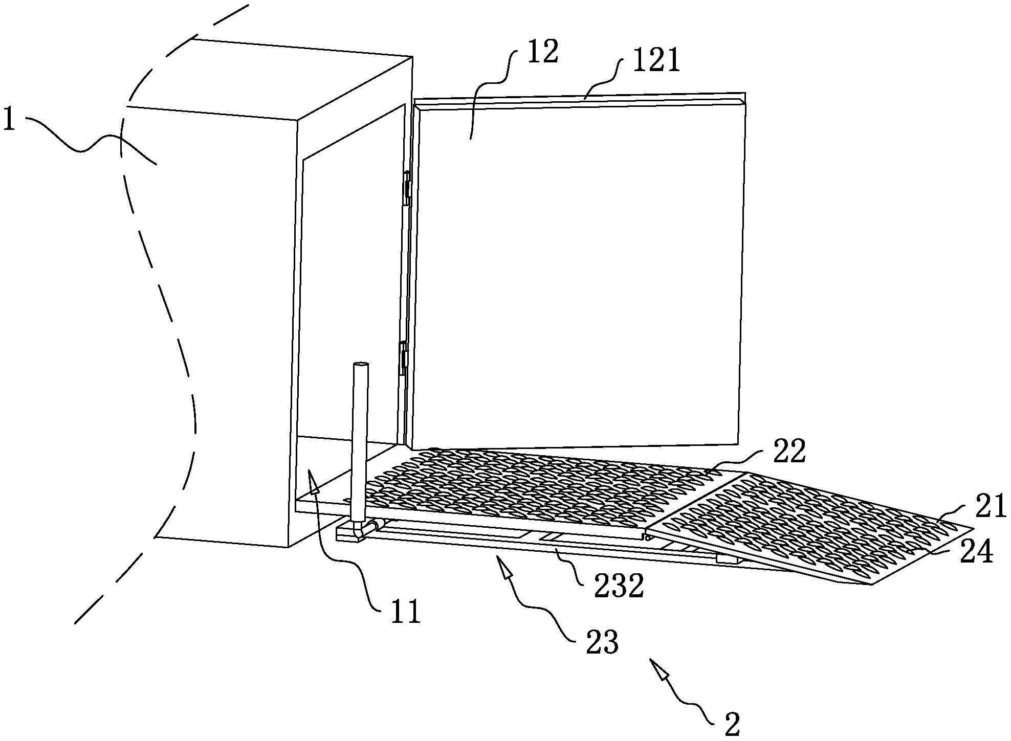
本申请涉及烹饪设备技术的领域,尤其是涉及一种可调节升降台,其包括蒸箱本体,蒸箱本体的一侧开设有进出口,所述蒸箱本体上铰接连接有用于贴合进出口的蒸箱门,所述蒸箱本体外还设有承接机构,所述承接机构包括位于进出口外侧以过渡进出口下边沿与地面之间高度差的承接板。本申请具有减少推拉车经过进出口时颠簸的效果。


