授权公布号:CN218952881U
一种升降机用防护装置
有效
申请
2022-12-02
申请公布
1970-01-01
授权
2023-05-02
预估到期
2032-12-02
| 申请号 | CN202223218692.6 |
| 申请日 | 2022-12-02 |
| 授权公布号 | CN218952881U |
| 授权公告日 | 2023-05-02 |
| 分类号 | E04G21/32 |
| 分类 | 建筑物; |
| 申请人名称 | 唐山广野食品集团有限公司 |
| 申请人地址 | 河北省唐山市遵化市工业园区 |
专利法律状态
2023-05-02
授权
状态信息
授权
摘要
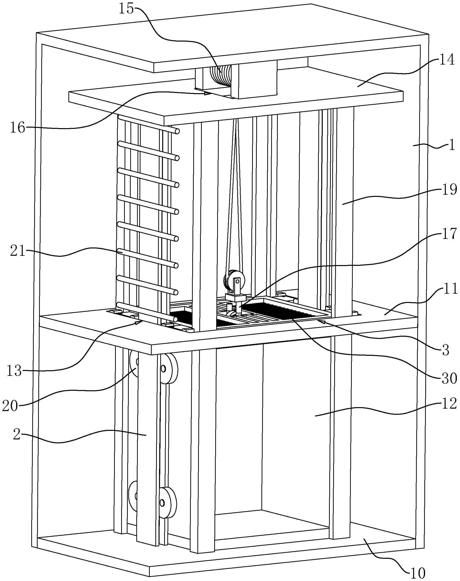
本申请涉及升降机的领域,尤其是涉及一种升降机用防护装置,其包括墙体、一楼平台和二楼平台,所述一楼平台上放置有电梯厢体,所述二楼平台上开设有电梯口,所述电梯厢体穿设于电梯口内,所述墙体侧壁上设置有承载平台,所述承载平台位于二楼平台上方,所述承载平台上设置有驱使电梯厢体移动的电葫芦,所述电葫芦的拉索穿出承载平台的端部设置于电梯厢体顶面上,所述电梯口处设置有防护板,所述电梯口相对的两个侧壁上设置有支撑板,所述防护板靠近支撑板的侧壁上设置有搭载板,所述搭载板搭设于支撑板上。本申请具有提高升降机的使用安全性的效果。


