授权公布号:CN211943951U
一种自动送盒机构
有效
申请
2020-02-26
申请公布
1970-01-01
授权
2020-11-17
预估到期
2030-02-26
| 申请号 | CN202020215854.2 |
| 申请日 | 2020-02-26 |
| 授权公布号 | CN211943951U |
| 授权公告日 | 2020-11-17 |
| 分类号 | B65B43/18;B65B43/20 |
| 分类 | 输送;包装;贮存;搬运薄的或细丝状材料; |
| 申请人名称 | 江门市澳新食品有限公司 |
| 申请人地址 | 广东省江门市新会区会城今古洲今洲路38号 |
专利法律状态
2020-11-17
授权
状态信息
授权
摘要
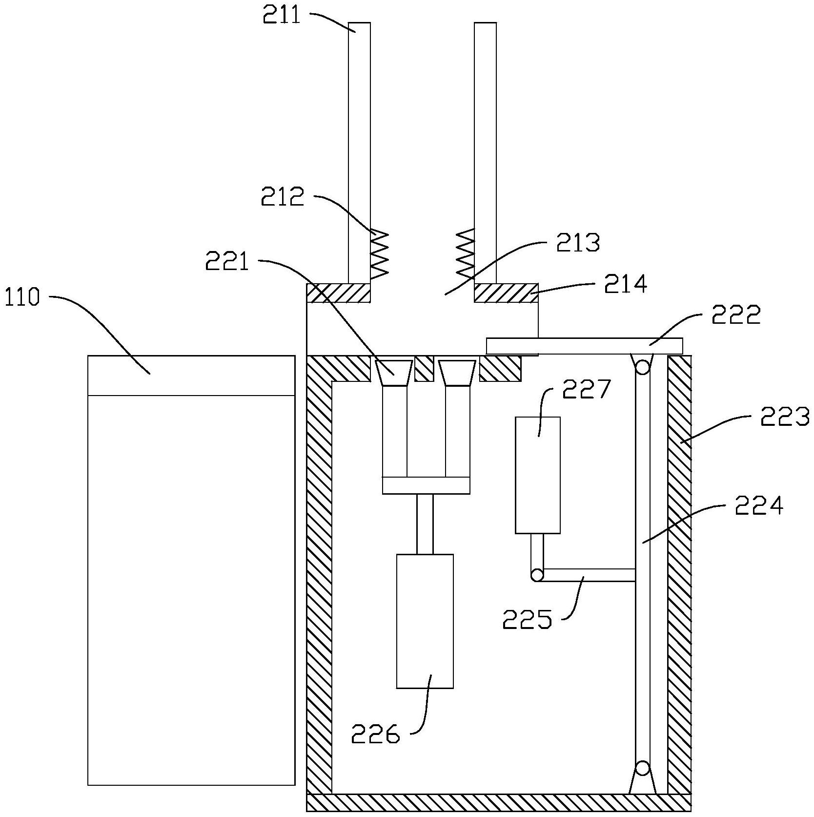
本实用新型公开了一种自动送盒机构,包括:胶盒输送机,沿X方向设置,用于输送胶盒;胶盒出料装置,设置在所述胶盒输送机的侧边,用于存放胶盒并将胶盒自动送到所述胶盒输送机上;其中,所述胶盒出料装置包括有胶盒存放组件和胶盒取料组件,所述胶盒存放组件用于放置成叠的胶盒,所述胶盒取料组件用于将所述胶盒存放组件中的胶盒逐个送到所述胶盒输送机上。将成叠的胶盒放置在胶盒存放组件上,然后配合胶盒取料组件,将胶盒逐个取出,并送到胶盒输送上,最后通过胶盒输送机送出,方便快捷,避免人手手动逐个分离胶盒,降低劳动强度,提高生产效率。


