授权公布号:CN212384104U
一种饼干成品重量检测装置
有效
申请
2020-05-19
申请公布
1970-01-01
授权
2021-01-22
预估到期
2030-05-19
| 申请号 | CN202020842893.5 |
| 申请日 | 2020-05-19 |
| 授权公布号 | CN212384104U |
| 授权公告日 | 2021-01-22 |
| 分类号 | B07C5/18;B07C5/28 |
| 分类 | 将固体从固体中分离;分选; |
| 申请人名称 | 江门市澳新食品有限公司 |
| 申请人地址 | 广东省江门市新会区会城今古洲今洲路38号 |
专利法律状态
2021-01-22
授权
状态信息
授权
摘要
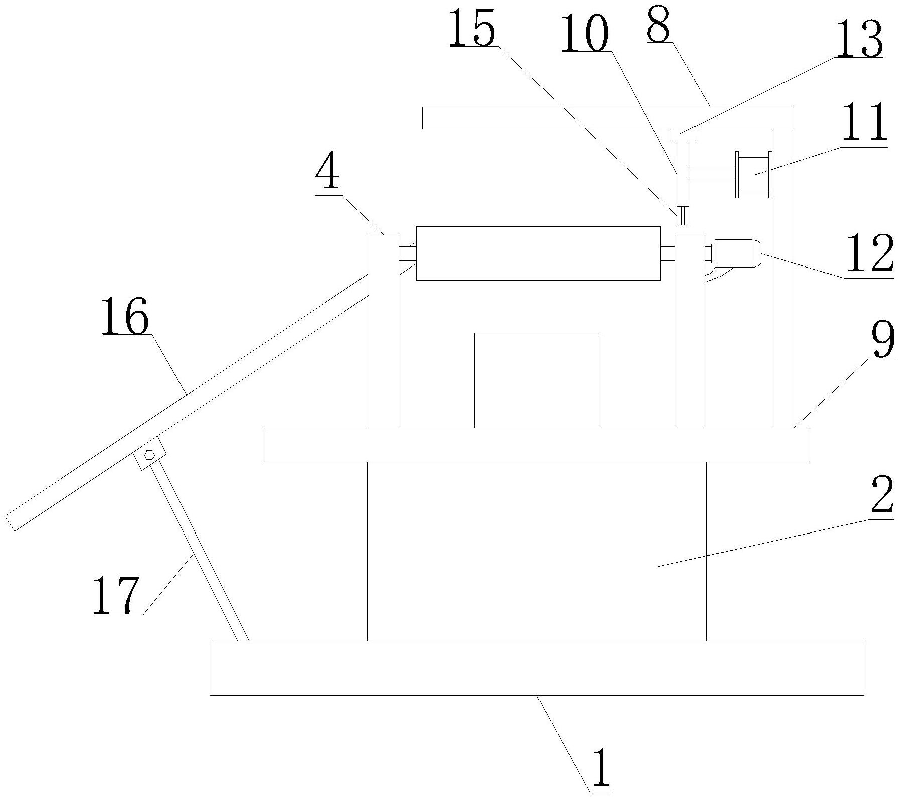
一种饼干成品重量检测装置,包括底座、主机箱移动板、伸缩装置和倾斜板;底座上设有称重装置;称重装置上设有支撑板;支撑板上设有用于输送待测重成品饼干的输送组件和第二安装板;倾斜板朝向底座向下倾斜并通过支撑杆连接底座;第二安装板上端设有第一安装板;移动板滑动连接第一安装板的下端面上,移动板下端面均匀设有刷毛,移动板连接用于驱动移动板朝向或远离倾斜板移动的伸缩装置;伸缩装置安装在第二安装板上;主机箱安装在支撑板上,主机箱上设有按键模块和显示器,主机箱内设有控制器和电源模块;电源模块、伸缩装置、控制器、按键模块、显示器和输送组件电性连接。本实用新型能快速对成品饼干进行称重检测并能剔除不合格饼干。


