授权公布号:CN209976737U
一种空气压缩机的排气装置
有效
申请
2019-04-01
申请公布
1970-01-01
授权
2020-01-21
预估到期
2029-04-01
| 申请号 | CN201920432066.6 |
| 申请日 | 2019-04-01 |
| 授权公布号 | CN209976737U |
| 授权公告日 | 2020-01-21 |
| 分类号 | F04B39/12;F04B39/00 |
| 分类 | 液体变容式机械;液体泵或弹性流体泵; |
| 申请人名称 | 小龙王食品有限公司 |
| 申请人地址 | 湖南省湘潭市湘潭县易俗河镇云龙东路、海棠路(湘潭天易示范区) |
专利法律状态
2020-01-21
授权
状态信息
授权
摘要
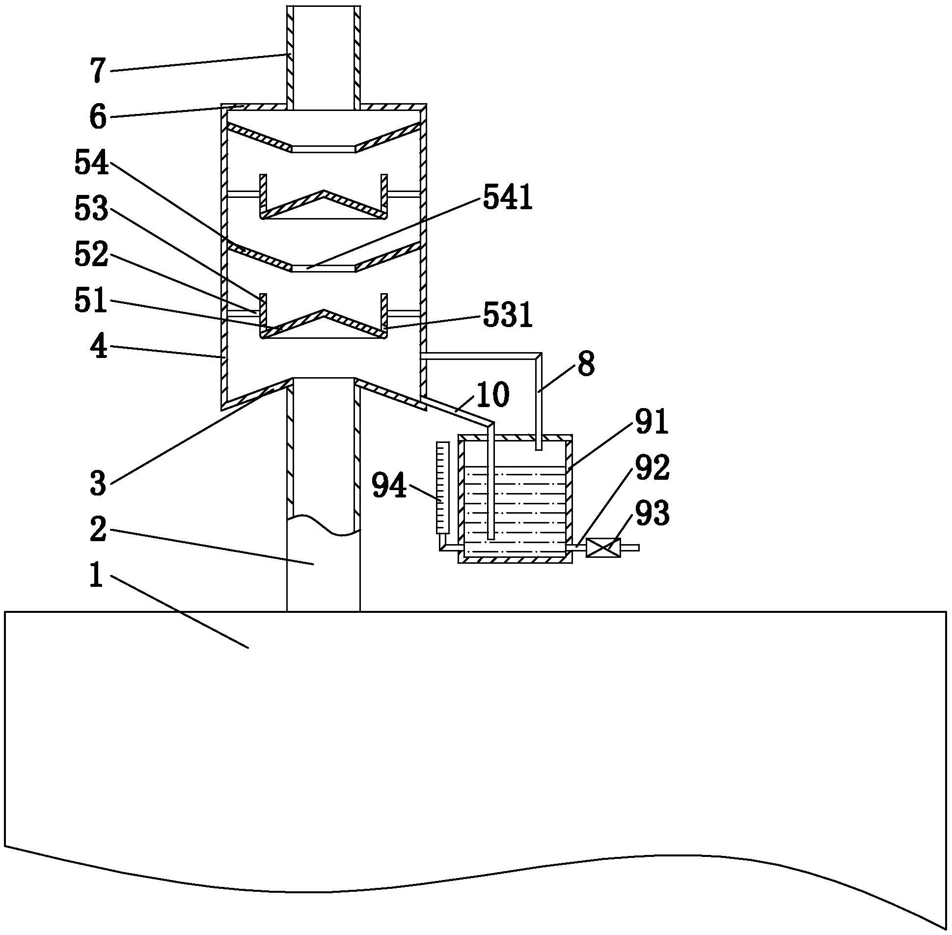
本实用新型涉及一种空气压缩机的排气装置,其包括安装于空气压缩机顶部的排气管,所述排气管的顶端连通有底板,所述底板的外圆端固定连接有圆筒,所述圆筒的顶端固定连接有顶板,所述顶板上还连通有出气管,所述圆筒内还设有多级气液分离装置,所述圆筒的底部还通过第一管子连通有集液装置。本实用新型的一种空气压缩机的排气装置,可将空气压缩机的排气管排出的气体中含有的水、油等液体分离出来,利于减少排出的气体中的水、油等液体杂质,利于增加产品的合格率,利于减少用气设备的故障率;可回收从气液分离装置分离出来的水、油等液体杂质,避免从气液分离装置分离出来的水、油等液体杂质再次流入空气压缩机内。


