授权公布号:CN212829522U
一种放置脱氧剂包的轮盘
有效
申请
2020-07-24
申请公布
1970-01-01
授权
2021-03-30
预估到期
2030-07-24
| 申请号 | CN202021492083.8 |
| 申请日 | 2020-07-24 |
| 授权公布号 | CN212829522U |
| 授权公告日 | 2021-03-30 |
| 分类号 | B65B61/20;B65B65/00 |
| 分类 | 输送;包装;贮存;搬运薄的或细丝状材料; |
| 申请人名称 | 小龙王食品有限公司 |
| 申请人地址 | 湖南省湘潭市湘潭县易俗河镇云龙东路、海棠路(湘潭天易示范区) |
专利法律状态
2021-03-30
授权
状态信息
授权
摘要
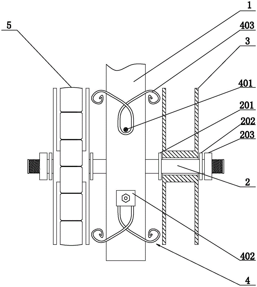
本实用新型涉及一种放置脱氧剂包的轮盘,包括轮盘轴以及可转动的设于所述轮盘轴的轮盘;放置脱氧剂包的所述轮盘通过支撑杆安装于包装机上,两所述轮盘竖直的,并且同轴的安装于所述支撑杆的左右两侧;于所述支撑杆的前端面或者后端面还设有弹力限位件,所述弹力限位件的两端与所述两轮盘的内侧面的间距小于0.5cm;所述弹力限位件为一根金属条经扭转交叉后形成的具有弹力的元件,所述弹力限位件通过固定板固定于所述支撑杆;本实用新型提供的一种放置脱氧剂包的轮盘,与现有技术相比,其设置有弹力限位件,所述弹力限位件能够从所述轮盘的内侧抵住所述轮盘,防止轮盘在放料的过程中左右摆动。


