授权公布号:CN111468267B
一种砂糖粉碎、粉尘分离和过滤系统
有效
申请
2020-04-15
申请公布
2020-07-31
授权
2022-02-08
预估到期
2040-04-15
| 申请号 | CN202010295292.1 |
| 申请日 | 2020-04-15 |
| 申请公布号 | CN111468267A |
| 申请公布日 | 2020-07-31 |
| 授权公布号 | CN111468267B |
| 授权公告日 | 2022-02-08 |
| 分类号 | B02C21/00;B02C23/02;B02C23/08;B07B1/28;B07B1/42;B07B1/46;B04C9/00;B01D46/24 |
| 分类 | 破碎、磨粉或粉碎;谷物碾磨的预处理; |
| 申请人名称 | 珠海元朗食品有限公司 |
| 申请人地址 | 广东省珠海市高新区金鼎科技工业园30号 |
专利法律状态
2022-02-08
授权
状态信息
授权
2020-07-31
公布
状态信息
公布
摘要
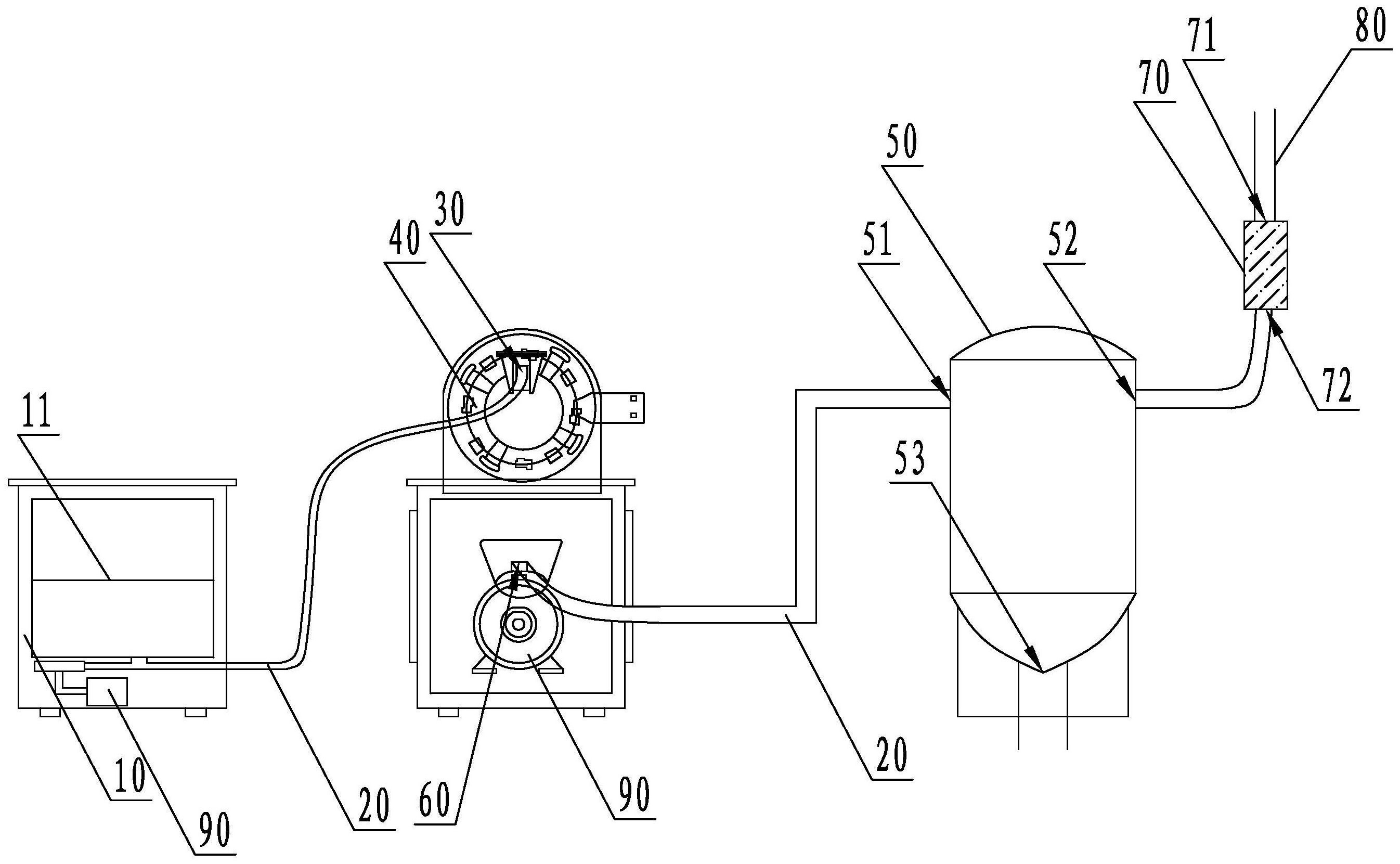
本发明提供了一种砂糖粉碎、粉尘分离和过滤系统,包括有砂糖贮放装置、砂糖粉碎装置、砂糖粉尘分离装置和砂糖粉尘过滤装置;所述砂糖粉碎装置包括有进料通道、粉碎机构、出料通道;所述砂糖粉尘分离装置包括有分离罐,在分离罐上部的其中一侧设有糖粉入口,另一侧设有粉尘出口,在分离罐的下部设有糖粉出口;所述砂糖粉尘过滤装置与粉尘出口连通以将粉尘过滤后再行排放。本发明将贮存的砂糖直接输送至粉碎机构中,无需繁复的上料工作,极大地减少了工人的工作量,提高了工人的工作效率;砂糖在被研磨成糖粉后被直接送入分离罐中实现糖粉和粉尘分离,防止粉尘逸散弥漫,减低对生产空间的空气粉尘污染,同时也降低对工人的生理伤害。


