授权公布号:CN217121102U
一种包装罐封盖检测系统
有效
申请
2022-04-11
申请公布
1970-01-01
授权
2022-08-05
预估到期
2032-04-11
| 申请号 | CN202220827036.7 |
| 申请日 | 2022-04-11 |
| 授权公布号 | CN217121102U |
| 授权公告日 | 2022-08-05 |
| 分类号 | B08B5/02;B08B13/00 |
| 分类 | 清洁; |
| 申请人名称 | 珠海元朗食品有限公司 |
| 申请人地址 | 广东省珠海市高新区金鼎科技工业园30号 |
专利法律状态
2022-08-05
授权
状态信息
授权
摘要
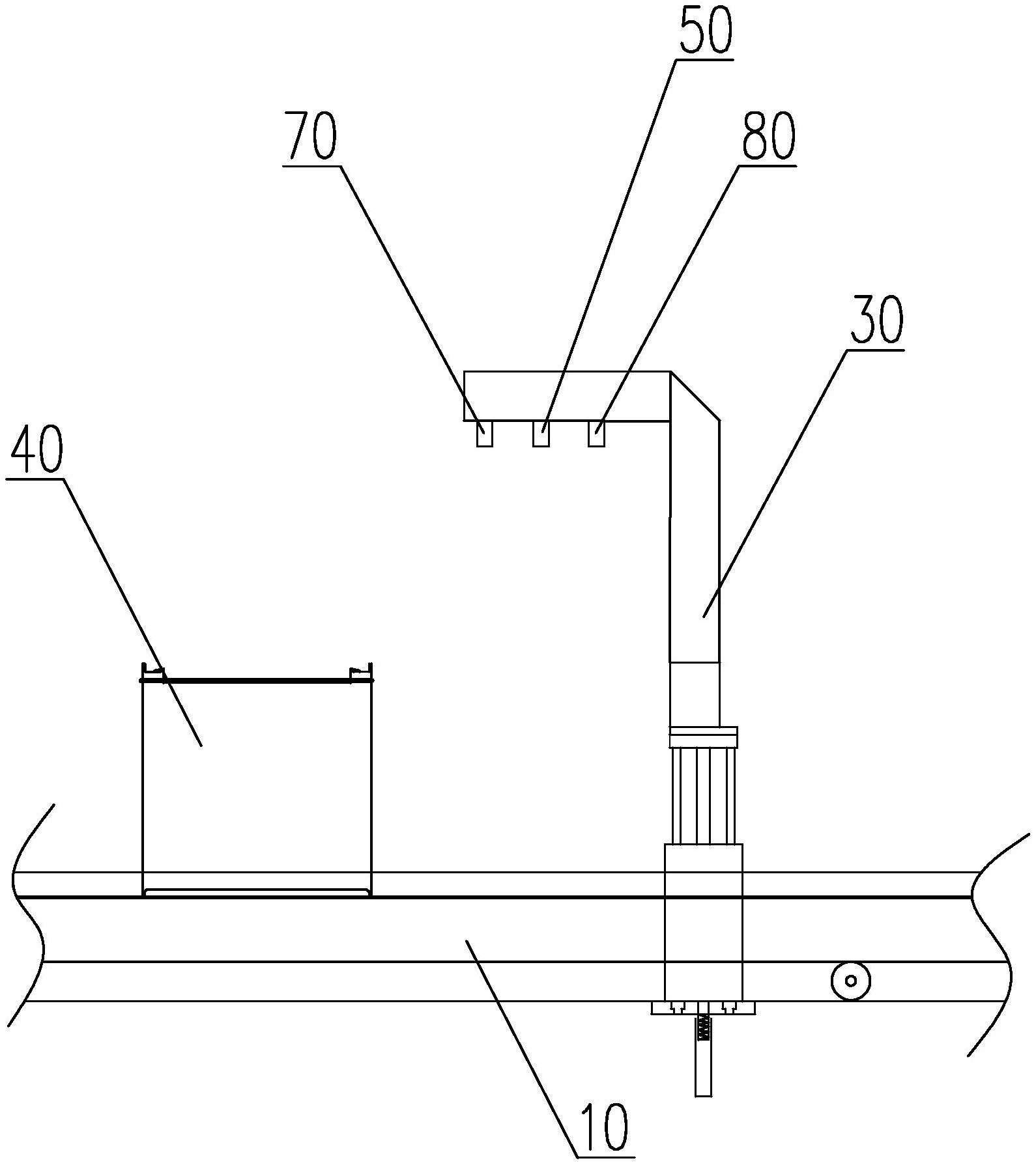
本实用新型为一种包装罐封盖检测系统,包括有工作台,在工作台上设有输送机构,在工作台上还设有一立架,在所述立架上设有来罐检测机构、压盖检测机构和吹气清污机构,在所述输送机构上设有剔除机构。本实用新型能够实现来罐的吹气清污、封盖情况检测和判定,并将封盖质量未达标的产品剔除,具有速度快、效率高等优点,能够保证封盖质量,达到高标准封盖合格率,能够对包装罐进行清污,保证包装罐的清洁度,全程无需人工操作,较传统的人工查看、人工清污、人工剔除相比,大大降低了工人的劳动强度,提高了生产效率。


