授权公布号:CN212787397U
非油爆爆米花装置
有效
申请
2020-08-25
申请公布
1970-01-01
授权
2021-03-26
预估到期
2030-08-25
| 申请号 | CN202021795024.8 |
| 申请日 | 2020-08-25 |
| 授权公布号 | CN212787397U |
| 授权公告日 | 2021-03-26 |
| 分类号 | A23P30/38;A23L7/183 |
| 分类 | 其他类不包含的食品或食料;及其处理; |
| 申请人名称 | 湖北吉利食品有限公司 |
| 申请人地址 | 湖北省武汉市东西湖区金海峡科技工业园 |
专利法律状态
2021-03-26
授权
状态信息
授权
摘要
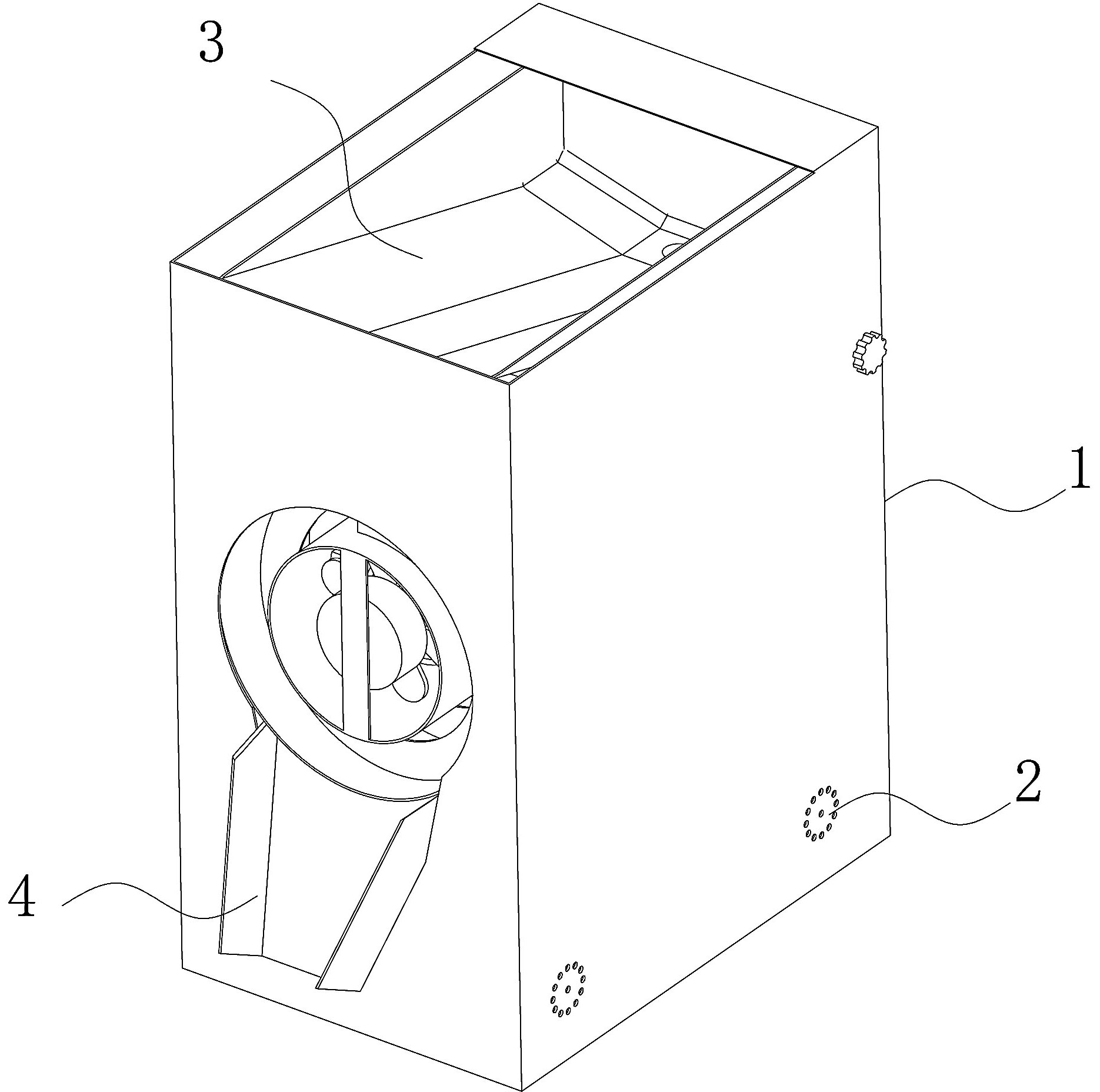
本实用新型提供一种非油爆爆米花装置,旋转滚筒内部设有沿旋转滚筒内壁设置的螺旋叶片,旋转滚筒外部设有感应线圈,感应线圈用于感应加热旋转滚筒,旋转滚筒内部套设有内加热筒,内加热筒内部设有风扇,风扇一侧设有发热丝,所述内加热筒内部下方设有多个出风口,自动进料操作效率高、劳动强度小、人工成本低、不易烫伤安全隐患小、成品残次品分开不影响食品质量、客户满意度高、客户用餐体验好的爆米花加工设备。


