授权公布号:CN212923616U
微型添加料自动投料装置
有效
申请
2020-08-25
申请公布
1970-01-01
授权
2021-04-09
预估到期
2030-08-25
| 申请号 | CN202021794950.3 |
| 申请日 | 2020-08-25 |
| 授权公布号 | CN212923616U |
| 授权公告日 | 2021-04-09 |
| 分类号 | B65G65/46;B65G69/00;A23L7/161 |
| 分类 | 输送;包装;贮存;搬运薄的或细丝状材料; |
| 申请人名称 | 湖北吉利食品有限公司 |
| 申请人地址 | 湖北省武汉市东西湖区金海峡科技工业园 |
专利法律状态
2021-04-09
授权
状态信息
授权
摘要
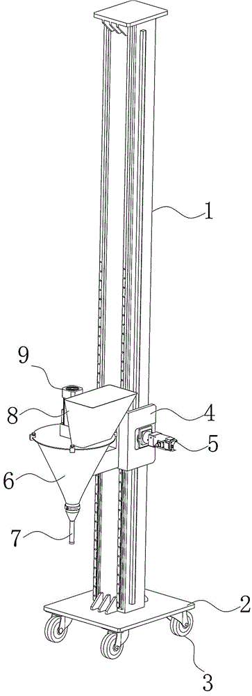
本实用新型提供一种微型添加料自动投料装置,包括柱体,柱体底端设有移动装置,柱体上设有下料斗,下料斗通过滑动板与柱体滑动连接,滑动板上设有驱动装置,驱动装置带动下料斗在柱体上滑动,下料斗下方设有下料管,下料管内部设有螺旋输送轴,螺旋输送轴通过驱动杆与下料斗上方的第二电机连接,实现自动上升加料,且结构简单,使用方便,加料的效率高,省时省力,提高了工作效率,经济实用。


