授权公布号:CN212597062U
一种瓜子振动分选装置
失效
申请
2020-05-28
申请公布
1970-01-01
授权
2021-02-26
预估到期
2030-05-28
| 申请号 | CN202020940985.7 |
| 申请日 | 2020-05-28 |
| 授权公布号 | CN212597062U |
| 授权公告日 | 2021-02-26 |
| 分类号 | B07B1/34;B07B1/46;B07B1/42 |
| 分类 | 将固体从固体中分离;分选; |
| 申请人名称 | 安徽乐方食品有限公司 |
| 申请人地址 | 安徽省宣城市经济技术开发区柏枧山路18号 |
专利法律状态
2023-06-09
专利权的终止
状态信息
未缴年费专利权终止;IPC(主分类):B07B1/34;申请日:20200528;授权公告日:20210226
2021-02-26
授权
状态信息
授权
摘要
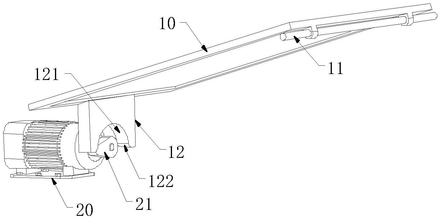
本实用新型公开了一种瓜子振动分选装置,包括筛板和电机,所述筛板和电机通过振动机构连接,所述振动机构包括凸轮和接触块,所述凸轮通过固定安装在电机的转子上,所述接触块固定安装在筛板的一端下方,且所述接触块的底部设置有与凸轮表面接触的配合面,所述筛板的另一端绕固定的水平轴转动。本实用新型的瓜子振动分选装置,连接部件少,结构简单,避免轴杆件易受径向剪切应力的破坏问题,大大提高了振动机构的强度,延长瓜子振动分选装置的使用寿命。


