授权公布号:CN211969910U
一种卤制品包装袋全自动软膜拉伸真空包装机
有效
申请
2020-03-05
申请公布
1970-01-01
授权
2020-11-20
预估到期
2030-03-05
| 申请号 | CN202020261362.7 |
| 申请日 | 2020-03-05 |
| 授权公布号 | CN211969910U |
| 授权公告日 | 2020-11-20 |
| 分类号 | B65B51/10;B65B65/00 |
| 分类 | 输送;包装;贮存;搬运薄的或细丝状材料; |
| 申请人名称 | 福州翁财记食品有限公司 |
| 申请人地址 | 福建省福州市马尾区亭江镇长达路35号1#楼(自贸试验区内) |
专利法律状态
2023-09-08
专利申请权、专利权的转移
状态信息
专利权的转移;IPC(主分类):B65B 51/10;专利号:ZL2020202613627;登记生效日:20230822;变更事项:专利权人;变更前权利人:福州翁财记食品有限公司;变更后权利人:福建翁财记食品有限公司;变更事项:地址;变更前权利人:350015 福建省福州市马尾区亭江镇长达路35号(自贸试验区内);变更后权利人:350015 福建省福州市马尾区亭江镇长达路35号1#楼(自贸试验区内)
2020-11-20
授权
状态信息
授权
摘要
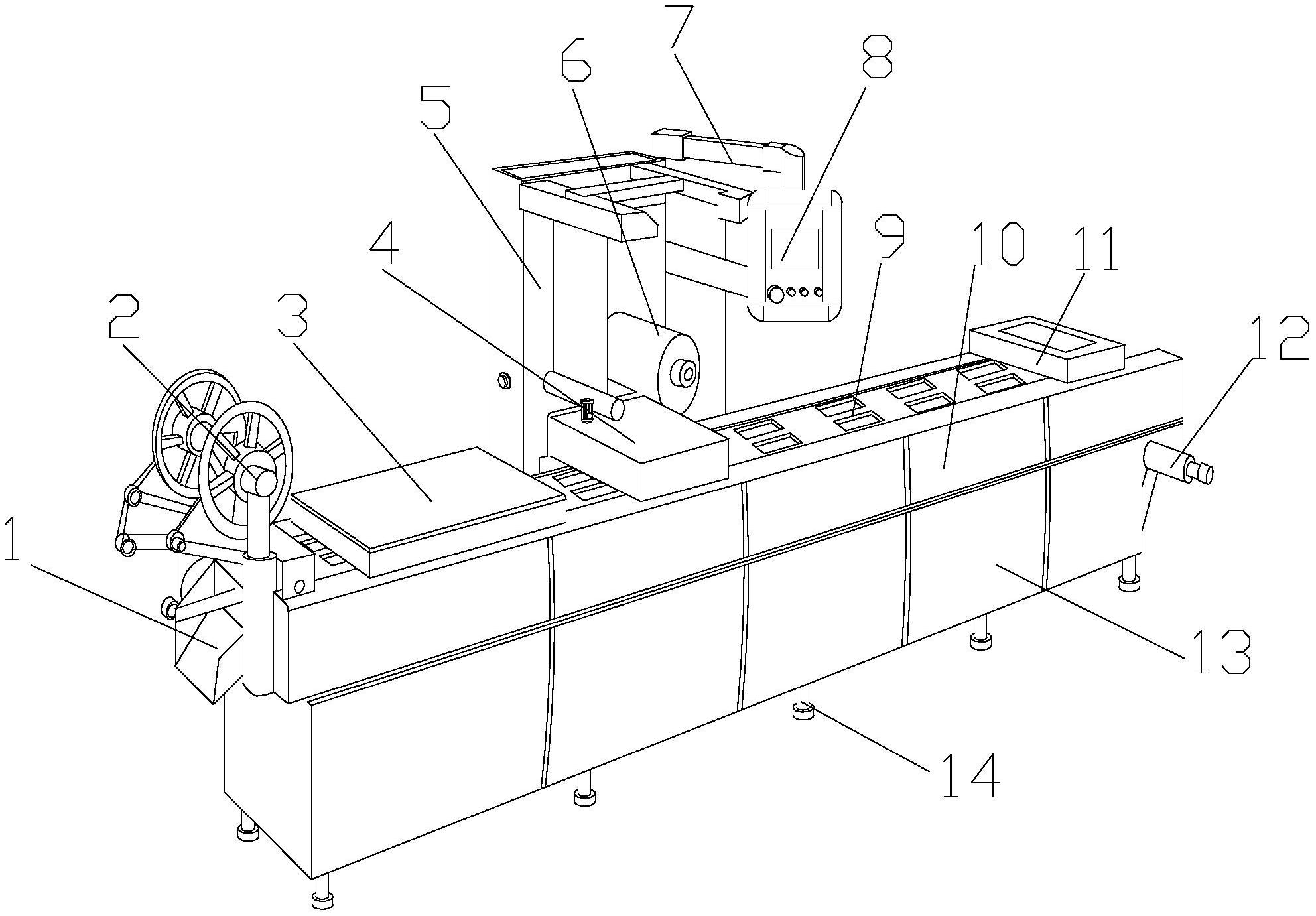
本实用新型公开了一种卤制品包装袋全自动软膜拉伸真空包装机,其结构包括出料锥形斗、废料收集轮、切刀区块、热封机构、电柜立柱、封袋轮、机械臂、操控触屏、输送带、成型工作台、成型模具、真空吸塑膜、机体工作台、制成脚垫,出料锥形斗右端与成型工作台左端相连接,本实用新型一种卤制品包装袋全自动软膜拉伸真空包装机,结构上通过电柜立柱内部与导电器内部进行相连接保持导电状态,再者热封机构上端设置有驱动马达连接着下端的传动轴进行传动带着下端连接的锥形齿轮组进行传动,进一步的让同轴心连接的涡轮杆进行同步的转动且配合着外侧啮合的啮合触点齿让其可以进行左右的位移。


