授权公布号:CN212212629U
一种能除金属杂质的洗豆系统
有效
申请
2020-05-26
申请公布
1970-01-01
授权
2020-12-25
预估到期
2030-05-26
| 申请号 | CN202020906760.X |
| 申请日 | 2020-05-26 |
| 授权公布号 | CN212212629U |
| 授权公告日 | 2020-12-25 |
| 分类号 | A23N12/02;B03C1/02 |
| 分类 | 其他类不包含的食品或食料;及其处理; |
| 申请人名称 | 陕西子祺食品集团有限公司 |
| 申请人地址 | 陕西省咸阳市礼泉县东二环北段西侧(陕西礼泉城东开发区子祺工业园) |
专利法律状态
2020-12-25
授权
状态信息
授权
摘要
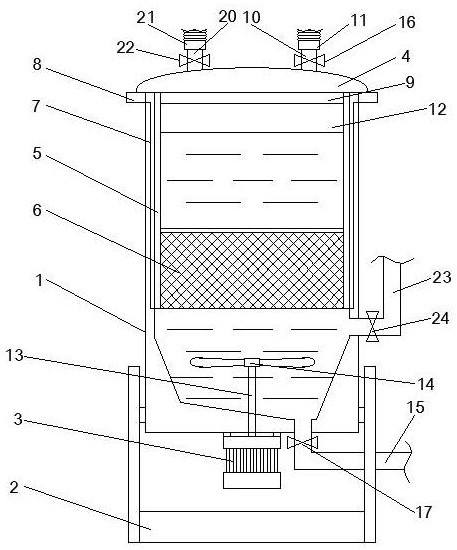
本实用新型涉及食品加工技术领域,具体涉及是一种能除金属杂质的洗豆系统,包括系统本体,系统本体内部设置有清洗腔,系统本体顶部为开口,且设置有顶盖,系统本体下部连接有支撑座,顶盖罩于系统本体上,其中顶盖上设置有进液管和排气管,系统本体底部设置有旋转电机和排液管,系统本体中部设置有与清洗腔连通的进气管,旋转电机的动力输出端与转轴连接,转轴插入清洗腔内,转轴的端部连接有旋叶,排液管与清洗腔连通,清洗腔内设置有置物篮和除金属杂质凸起,置物篮上设置有透水孔,置物篮内放置有待清洗豆,置物篮位于旋叶和进气管与清洗腔连接处的上方。通过在清洗腔内设置除金属杂质凸起,能够在清洗时对豆子中吸附的金属杂质进行吸附。


