授权公布号:CN212212630U
一种洗豆装置
有效
申请
2020-05-26
申请公布
1970-01-01
授权
2020-12-25
预估到期
2030-05-26
| 申请号 | CN202020908895.X |
| 申请日 | 2020-05-26 |
| 授权公布号 | CN212212630U |
| 授权公告日 | 2020-12-25 |
| 分类号 | A23N12/02 |
| 分类 | 其他类不包含的食品或食料;及其处理; |
| 申请人名称 | 陕西子祺食品集团有限公司 |
| 申请人地址 | 陕西省咸阳市礼泉县东二环北段西侧(陕西礼泉城东开发区子祺工业园) |
专利法律状态
2020-12-25
授权
状态信息
授权
摘要
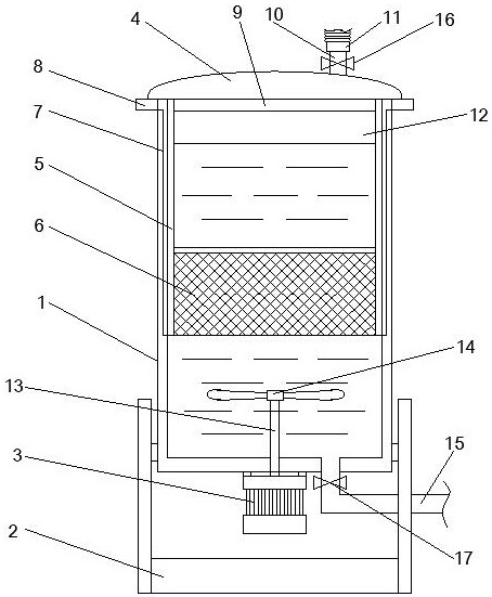
本实用新型涉及食品加工技术领域,具体涉及是一种洗豆装置,包括装置本体,装置本体内部设置有清洗腔,装置本体顶部为开口,且设置有顶盖,装置本体下部连接有支撑座,顶盖罩于装置本体上,其中顶盖上设置有进液管,进液管能与清洗腔连通,装置本体底部设置有旋转电机和排液管,旋转电机的动力输出端与转轴连接,转轴插入清洗腔内,转轴的端部连接有旋叶,排液管与清洗腔连通,清洗腔内设置有置物篮,置物篮上设置有透水孔,置物篮内放置有待清洗豆,置物篮位于旋叶上方。设置特有的洗豆装置,能够通过旋转电机带动置物篮内的豆子在清洗腔内液体中进行旋转,豆子间相互摩擦将污垢去除并溶于液体中,实现对豆子的清洗。


