授权公布号:CN207544260U
一种化油缸
有效
申请
2017-06-15
申请公布
1970-01-01
授权
2018-06-29
预估到期
2027-06-15
| 申请号 | CN201720695901.6 |
| 申请日 | 2017-06-15 |
| 授权公布号 | CN207544260U |
| 授权公告日 | 2018-06-29 |
| 分类号 | A23G1/04 |
| 分类 | 其他类不包含的食品或食料;及其处理; |
| 申请人名称 | 青岛妙品巧克力股份有限公司 |
| 申请人地址 | 山东省青岛市李沧区京口路28号3号楼2801户 |
专利法律状态
2018-06-29
授权
状态信息
授权
摘要
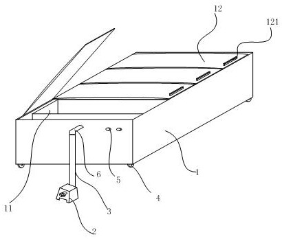
本实用新型提出一种化油缸,包括缸体,所述缸体内设有加热管,该化油缸还包括:液位计,用于检测缸体内的水位;水泵,用于将外部的水泵入缸体内;控制器,分别与液位计以及水泵相连,液位计将检测到的缸内水位数值传给控制器,控制器将该数值与预设数值进行比对以控制水泵的启闭。本实用新型提出一种可自动补水的化油缸,可根据化油缸内水位自动补给水量,从而避免了加热管可能造成干烧的状态,另外,也解决了工作人员不易查看化油缸内水量的问题,降低了工作人员的工作强度,进一步加强了巧克力生产工序中的自动化程度,省时省力。


