授权公布号:CN207252712U
易清洁巧克力保温缸
有效
申请
2017-06-15
申请公布
1970-01-01
授权
2018-04-20
预估到期
2027-06-15
| 申请号 | CN201720695581.4 |
| 申请日 | 2017-06-15 |
| 授权公布号 | CN207252712U |
| 授权公告日 | 2018-04-20 |
| 分类号 | A23G1/04;B01F7/16;B08B9/093 |
| 分类 | 其他类不包含的食品或食料;及其处理; |
| 申请人名称 | 青岛妙品巧克力股份有限公司 |
| 申请人地址 | 山东省青岛市李沧区京口路28号3号楼2801户 |
专利法律状态
2018-04-20
授权
状态信息
授权
摘要
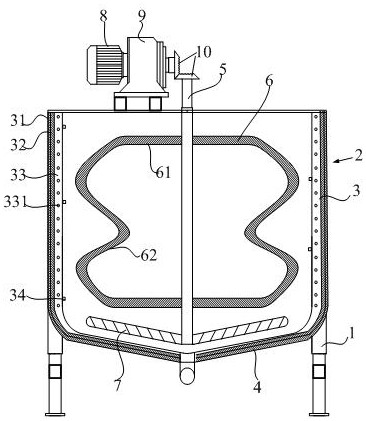
本实用新型提出一种易清洁巧克力保温缸,包括缸体,缸体中心设置中轴,中轴由动力装置带动旋转,所述缸体底壁向下倾斜,底壁最低点设置有出料口;所述中轴上连接有波浪形搅拌杆,所述中轴底部连接有螺纹杆。本实用新型所述的保温缸设置波浪形搅拌杆及螺纹搅拌杆,对缸内浆料搅拌更均匀,有效保证产品的品质。波浪形搅拌杆均为圆角设置且由无缝钢管制成,有效避免拐角、缝隙等残留物料。缸体底壁向下倾斜,出料口设置于最低点,可以将缸体内浆料几乎全部排净,利于缸体的清洁。内部高压喷水口的设置,可很好地冲洗缸体内部,实现自动清洁,极大的减轻了工人的劳动量。


