授权公布号:CN208242753U
一种脆皮口香糖成型设备
有效
申请
2018-04-24
申请公布
1970-01-01
授权
2018-12-18
预估到期
2028-04-24
| 申请号 | CN201820588675.6 |
| 申请日 | 2018-04-24 |
| 授权公布号 | CN208242753U |
| 授权公告日 | 2018-12-18 |
| 分类号 | A23G4/04 |
| 分类 | 其他类不包含的食品或食料;及其处理; |
| 申请人名称 | 广东笑咪咪食品有限公司 |
| 申请人地址 | 广东省潮州市潮安区庵埠镇砚前环城南路与潮汕公路交界处 |
专利法律状态
2018-12-18
授权
状态信息
授权
摘要
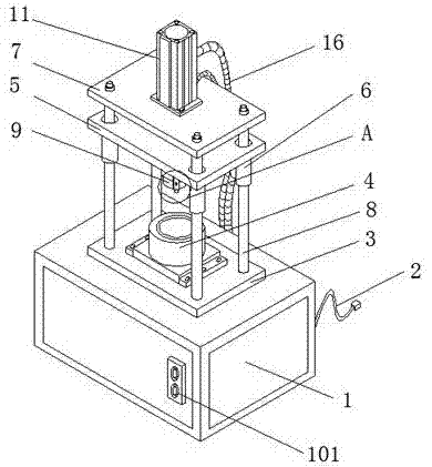
本实用新型公开了一种脆皮口香糖成型设备,包括机箱、底座、模具、连接板、顶板、导柱、冲头、固定座、液压缸、活塞杆、液压泵、油管、电源开关、电子感应器、处理器、断电器和感应元件,机箱前端右侧安装电源开关,机箱后端右侧设置有电源线,本实用新型的一种脆皮口香糖成型设备,通过在固定座右侧安装了电子感应器,其电子感应器底部感应元件与冲头位置相对应,在进行冲压成型时,出现不脱模的情况时,由电子感应器感应到,会发送信号至处理器进行处理,然后由处理器控制断电器启动,断开储蓄电源的通电工作,让液压泵断电停止工作,使成型机自动停机,从而避免了因糖不脱模出现的卡机现象,造成机器设备损伤,减少了后续的维修费用。


