授权公布号:CN217568562U
硬质糖果自动配料系统
有效
申请
2022-06-21
申请公布
1970-01-01
授权
2022-10-14
预估到期
2032-06-21
| 申请号 | CN202221553511.2 |
| 申请日 | 2022-06-21 |
| 授权公布号 | CN217568562U |
| 授权公告日 | 2022-10-14 |
| 分类号 | B01F35/222;B01F35/71;B01F35/75;B01F35/32;B01F27/90;B01F27/92;B01F27/192;B01F35/221;B01F35/83;B01F101/06N |
| 分类 | 一般的物理或化学的方法或装置; |
| 申请人名称 | 广东笑咪咪食品有限公司 |
| 申请人地址 | 广东省潮州市潮安区庵埠镇砚前环城南路与潮汕公路交界处 |
专利法律状态
2022-10-14
授权
状态信息
授权
摘要
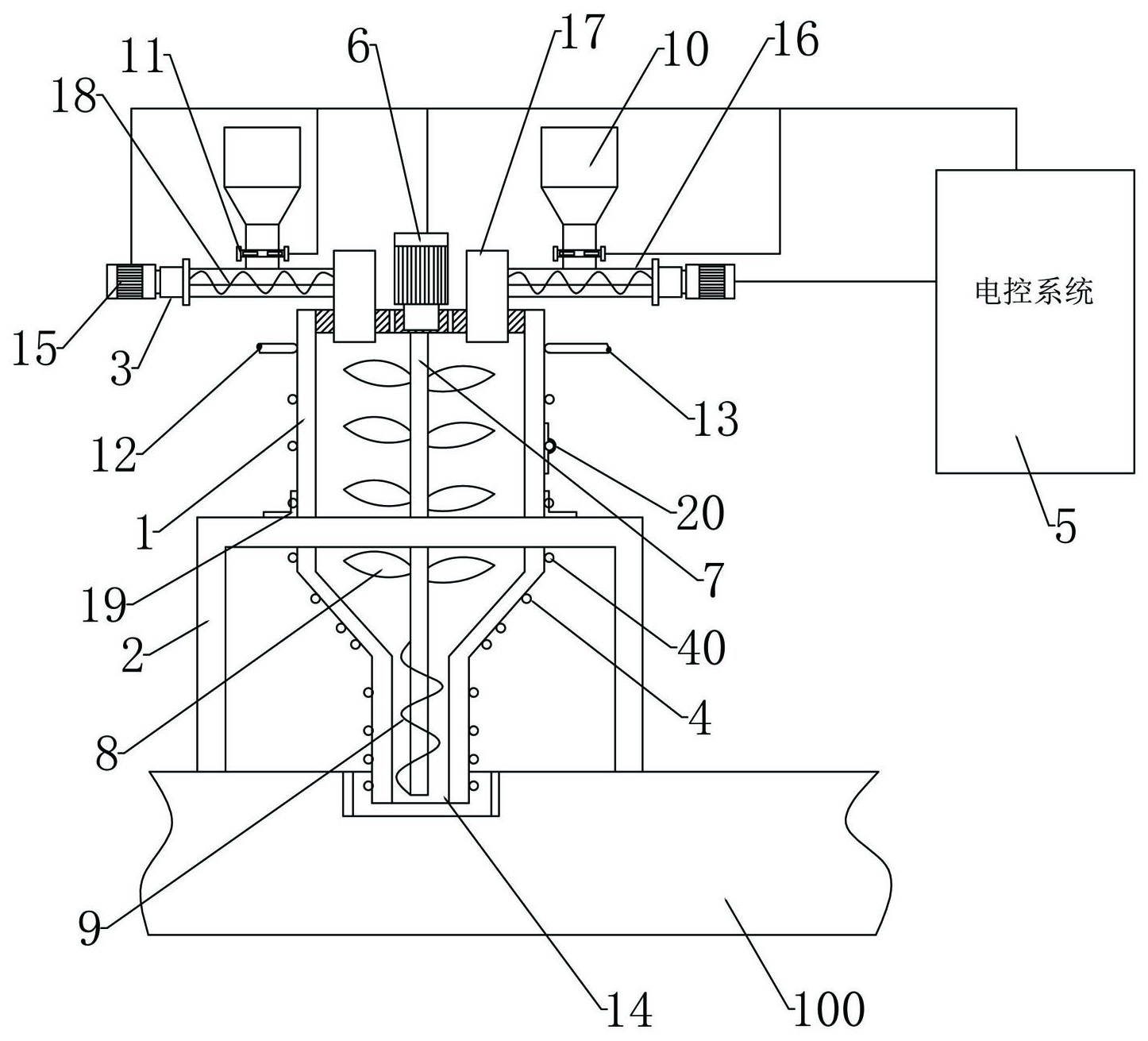
本实用新型公开了一种硬质糖果自动配料系统,包含搅拌罐、用于固定搅拌罐的搅拌罐固定架、配料输送组件、冷却结构和电控系统;所述搅拌罐的顶部固定安装有搅拌电机,搅拌电机的下端连接有搅拌轴;所述搅拌轴从上到下依次设置有多个搅拌桨和一个用于输送混合配料的输料螺杆结构;所述配料输送组件与储存漏斗连接,储料漏斗的下端设有用于控制配料输送量的电磁阀;所述冷却结构由盘旋在搅拌罐的外壁面上的冷却管组成,且冷却管设有冷却水进口和冷却水出口,通过冷却水循环流动实现保持搅拌罐内的配料温度适中,不发生粘结;所述电控系统用于控制配料输送组件、电磁阀和搅拌电机;所述搅拌罐的下端呈漏斗结构,且搅拌罐的出料口插入加热筒的内部。


