授权公布号:CN215783737U
一种饼干制造用原料谷物碾碎机
有效
申请
2022-01-04
申请公布
1970-01-01
授权
2022-02-11
预估到期
2032-01-04
| 申请号 | CN202220000810.7 |
| 申请日 | 2022-01-04 |
| 授权公布号 | CN215783737U |
| 授权公告日 | 2022-02-11 |
| 分类号 | B02C7/18;B02C7/16;B02C7/14 |
| 分类 | 破碎、磨粉或粉碎;谷物碾磨的预处理; |
| 申请人名称 | 山东婴儿乐股份有限公司 |
| 申请人地址 | 山东省烟台市莱山区杰瑞路17号 |
专利法律状态
2022-02-11
授权
状态信息
授权
摘要
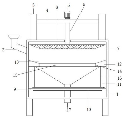
本实用新型涉及谷物碾碎技术领域,公开了一种饼干制造用原料谷物碾碎机,其包括箱体,所述箱体的一侧固定有进料管,所述箱体的顶部固定有两个轨道板,两个轨道板之间滑动安装有升降板,所述升降板的顶部安装有马达,所述升降板的底部转动安装有转轴,所述马达的输出轴与所述转轴转动连接,所述转轴的底部延伸至所述箱体内并固定有碾压块,所述碾压块上设有均匀分布的凸起,所述箱体内转动安装有转动盘,所述箱体内设有带动转动盘转动的转动组件。本实用新型通过增加摩擦频率和摩擦压力,提高对谷物的碾碎效率和碾碎强度,实现对谷物的高效碾碎,结构简单,操作方便。


