授权公布号:CN218402560U
一种饼干输送系统
有效
申请
2021-12-16
申请公布
1970-01-01
授权
2023-01-31
预估到期
2031-12-16
| 申请号 | CN202123173259.0 |
| 申请日 | 2021-12-16 |
| 授权公布号 | CN218402560U |
| 授权公告日 | 2023-01-31 |
| 分类号 | B65G47/64;B65B23/12 |
| 分类 | 输送;包装;贮存;搬运薄的或细丝状材料; |
| 申请人名称 | 山东婴儿乐股份有限公司 |
| 申请人地址 | 山东省烟台市莱山区杰瑞路17号 |
专利法律状态
2023-01-31
授权
状态信息
授权
摘要
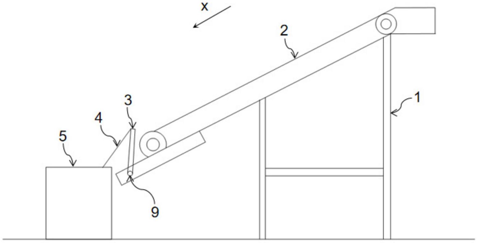
本实用新型公开了一种饼干输送系统,包括:支架;饼干输送装置,设置于支架上;沿饼干输送方向,设置于饼干输送装置的饼干输出端的分料装置,分料装置与饼干输送装置转动连接,分料装置远离饼干输送装置的一端铰接有支撑杆;接料仓,位于分料装置远离所述饼干输送装置的一端,用于接收经由分料装置运送的饼干。本实用新型能够实现对饼干流向的控制,防止饼干继续流入后续设备,避免机器堵塞及饼干浪费。


