授权公布号:CN210150322U
一种饺子馅倾倒装置
有效
申请
2019-05-24
申请公布
1970-01-01
授权
2020-03-17
预估到期
2029-05-24
| 申请号 | CN201920759871.X |
| 申请日 | 2019-05-24 |
| 授权公布号 | CN210150322U |
| 授权公告日 | 2020-03-17 |
| 分类号 | B65G65/23 |
| 分类 | 输送;包装;贮存;搬运薄的或细丝状材料; |
| 申请人名称 | 江苏美润食品有限公司 |
| 申请人地址 | 江苏省宿迁市泗阳县众兴镇绿都大道187号 |
专利法律状态
2020-03-17
授权
状态信息
授权
摘要
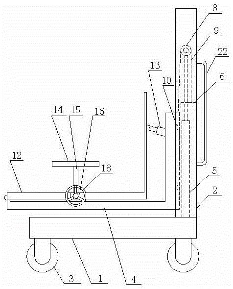
本实用新型公开了一种饺子馅倾倒装置,包括底座、龙门架、升降机构、倾倒机构和夹持机构,底座下端设有移动轮,底座上端一侧设有龙门架,龙门架上设有升降机构,升降机构包括升降座、第一气缸、固定板、顶杆、齿轮、链条和控制第一气缸工作的第一控制组件,升降座位于底座正上方,升降座两侧设有滚轮,龙门架内侧设有用于滚轮上下滚动的滑轨,第一气缸安装于底座上,且其顶端穿过设在龙门架上的固定板,并向上延伸连接顶杆,顶杆两端转动连接有齿轮,链条一端与升降座连接,另一端绕过齿轮与固定板连接,升降座远离龙门架一侧设有倾倒机构。本实用新型可降低劳动强度,提高生产效率,保证工人的人身安全。


