授权公布号:CN204490016U
一种面粉厂物料研磨混合输送系统
有效
申请
2015-02-09
申请公布
1970-01-01
授权
2015-07-22
预估到期
2025-02-09
| 申请号 | CN201520092291.1 |
| 申请日 | 2015-02-09 |
| 授权公布号 | CN204490016U |
| 授权公告日 | 2015-07-22 |
| 分类号 | B65G53/24;B65G53/44;B65G17/12;B02C11/04;B02C23/08;B02C23/12 |
| 分类 | 输送;包装;贮存;搬运薄的或细丝状材料; |
| 申请人名称 | 山东望乡食品有限公司 |
| 申请人地址 | 山东省潍坊市高密市阚家镇驻地 |
专利法律状态
2015-07-22
授权
状态信息
授权
摘要
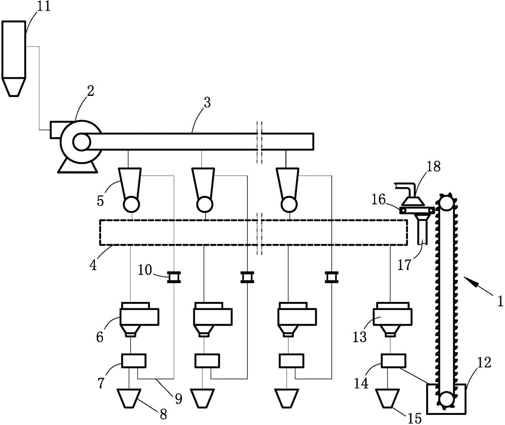
本实用新型公开了一种面粉厂物料研磨混合输送系统,属于物料输送技术领域,它包括一条物料输送管道和一条负压管道,负压管道上设有若干条研磨支路,研磨支路包括旋风卸料器,旋风卸料器的下游设有连接物料输送管道的研磨机,研磨机连接筛分器,筛分器连接旋风卸料器;远离引风机一端的首支研磨支路的上游设有物料存储坑内,物料存储坑内设有斗式提升机,斗式提升机通过输送器连接物料输送管道,输送器的下游设有连接物料输送管道的粉碎研磨机,粉碎研磨机连接分离筛,分离筛的粗粉出口连接物料存储坑,分离筛的细粉出口连接细粉存储器。本实用新型解决了目前气流输送方式能耗高、输送效率低的技术问题,广泛应用于面粉生产中。


