授权公布号:CN205771776U
一种电子正杆器
有效
申请
2016-07-05
申请公布
1970-01-01
授权
2016-12-07
预估到期
2026-07-05
| 申请号 | CN201620707656.1 |
| 申请日 | 2016-07-05 |
| 授权公布号 | CN205771776U |
| 授权公告日 | 2016-12-07 |
| 分类号 | B65G47/22;B65G43/08 |
| 分类 | 输送;包装;贮存;搬运薄的或细丝状材料; |
| 申请人名称 | 山东望乡食品有限公司 |
| 申请人地址 | 山东省潍坊市高密市阚家镇驻地 |
专利法律状态
2016-12-07
授权
状态信息
授权
摘要
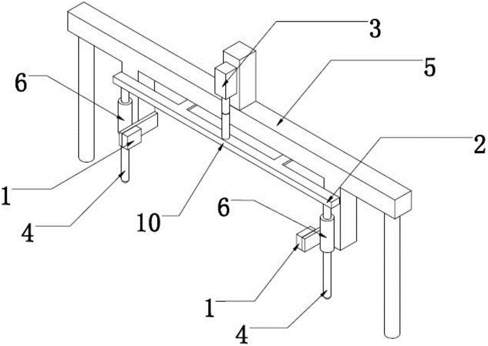
本实用新型公开了一种电子正杆器,它属于食品生产设备领域,包括阻挡装置、升降装置、传感器和控制器;阻挡装置包括水平放置的横杆和设于横杆两端垂直向下的阻挡杆,升降装置设于阻挡装置上方,横杆与升降装置相连;阻挡杆处均设有传感器,传感器的检测方向为垂直向下;传感器与控制器相连,控制器与升降装置相连;本实用新型可以自动矫正挂面杆在传送带传送过程中出现的歪斜现象,规避了因挂面杆歪斜造成的传送带传输效率的降低和挂面杆从传送带掉落的现象,提高了工作效率,避免了可能产生的经济损失;本实用新型免除了人工操作和失误,从而降低了人工成本,并提高了矫正准确率。


