授权公布号:CN216458316U
一种巧克力酱料高速剪切分散重组乳化机构
有效
申请
2022-01-07
申请公布
1970-01-01
授权
2022-05-10
预估到期
2032-01-07
| 申请号 | CN202220045091.0 |
| 申请日 | 2022-01-07 |
| 授权公布号 | CN216458316U |
| 授权公告日 | 2022-05-10 |
| 分类号 | B01F27/90;B01F33/81;B01F27/87;B01F27/172;B01F35/71;B01F35/75;B01F35/42;A23G1/10;B01F101/12N |
| 分类 | 一般的物理或化学的方法或装置; |
| 申请人名称 | 汕头市甜甜乐糖果食品有限公司 |
| 申请人地址 | 广东省汕头市浮东码头路柯厝围 |
专利法律状态
2022-05-10
授权
状态信息
授权
摘要
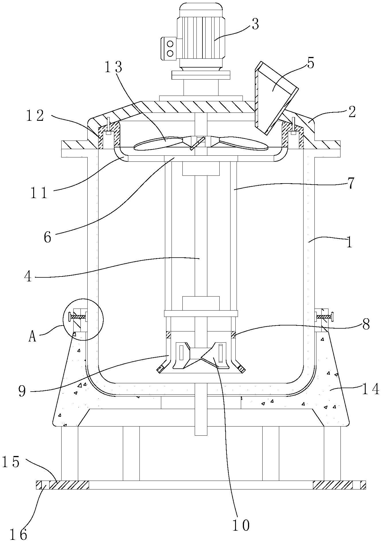
本实用新型公开了一种巧克力酱料高速剪切分散重组乳化机构,包括乳化罐和分散刀,所述乳化罐的上方安装有密封盖,且密封盖顶端安装有电机,并且电机的输出端连接有搅拌轴;套环,安装在所述限位杆底端的支架下方,所述搅拌轴的底端安装有刀具。该巧克力酱料高速剪切分散重组乳化机构,通过使用配套的螺栓锁紧件贯穿安装架表面的定位孔,方便将该机构进行防偏移安装,通过等夹角分布的旋钮和缓冲块可以对该机构的乳化罐进行稳定对接及限位,电机带动搅拌轴上的分散刀对加入的巧克力酱料进行均匀打散,通过旋转的刀具对巧克力酱料进行高速剪切及混合,从而保证该机构可以高效的对巧克力酱料进行高速剪切分散重组乳化。


