授权公布号:CN218871870U
一种食品加工拌料装置
有效
申请
2022-07-26
申请公布
1970-01-01
授权
2023-04-18
预估到期
2032-07-26
| 申请号 | CN202221940143.7 |
| 申请日 | 2022-07-26 |
| 授权公布号 | CN218871870U |
| 授权公告日 | 2023-04-18 |
| 分类号 | B01F27/90;B01F27/92;B01F35/12;B01F35/75;B01F27/84;B01F33/82;B01F101/06N |
| 分类 | 一般的物理或化学的方法或装置; |
| 申请人名称 | 山东鹤福食品有限公司 |
| 申请人地址 | 山东省菏泽市高新区银川路223号 |
专利法律状态
2023-04-18
授权
状态信息
授权
摘要
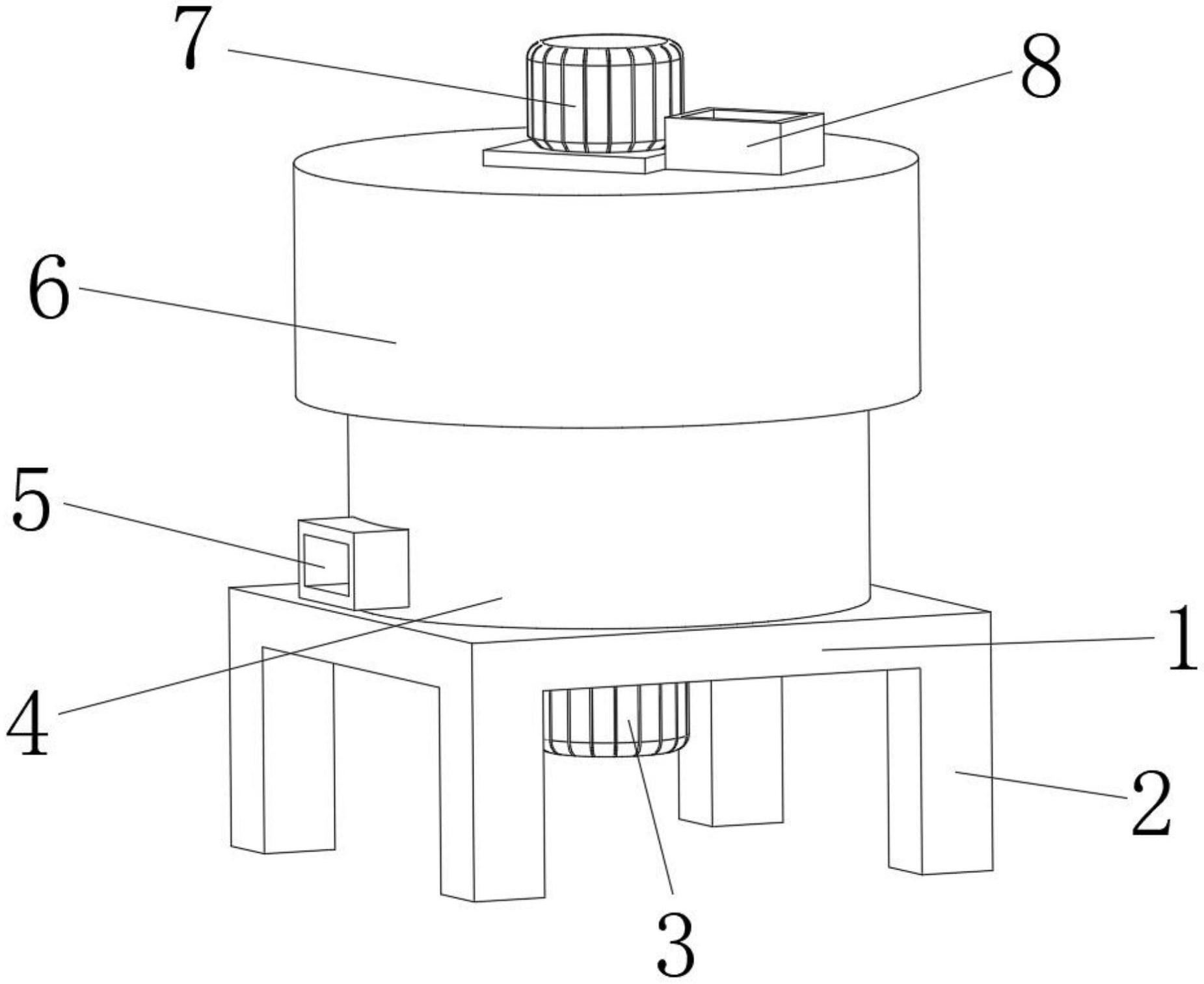
本实用新型提出了一种食品加工拌料装置,包括支撑板,所述支撑板的一侧固定连接有支撑柱,所述支撑板的一侧固定连接有第一电机,所述支撑板的一侧固定连接有第一拌料仓,所述第一拌料仓的一侧固定连接有出料口,所述第一拌料仓的一侧固定连接有第二拌料仓,所述第二拌料仓的一侧固定连接有第二电机,所述第二拌料仓的一侧固定连接有进料口。本实用新型的优点在于:该食品加工拌料装置在同一传动轴上设置有第一拌料架和第二拌料架,第一拌料架和第二拌料架设置为相反转动,在对食品物料进行搅拌时能够充分使物料进行均匀混合,提高了食品的生产质量,该装置在固定架两侧设置有毛刷,通过毛刷可以对该装置达到快速清洁的作用。


