授权公布号:CN210065701U
一种降低油料损耗的食品车间用榨油机
有效
申请
2019-04-16
申请公布
1970-01-01
授权
2020-02-14
预估到期
2029-04-16
| 申请号 | CN201920514149.X |
| 申请日 | 2019-04-16 |
| 授权公布号 | CN210065701U |
| 授权公告日 | 2020-02-14 |
| 分类号 | C11B1/06 |
| 分类 | 动物或植物油、脂、脂肪物质或蜡;由此制取的脂肪酸;洗涤剂;蜡烛; |
| 申请人名称 | 天津阿尔发保健品有限公司 |
| 申请人地址 | 天津市滨海新区经济技术开发区黄海路170号4幢 |
专利法律状态
2020-02-14
授权
状态信息
授权
摘要
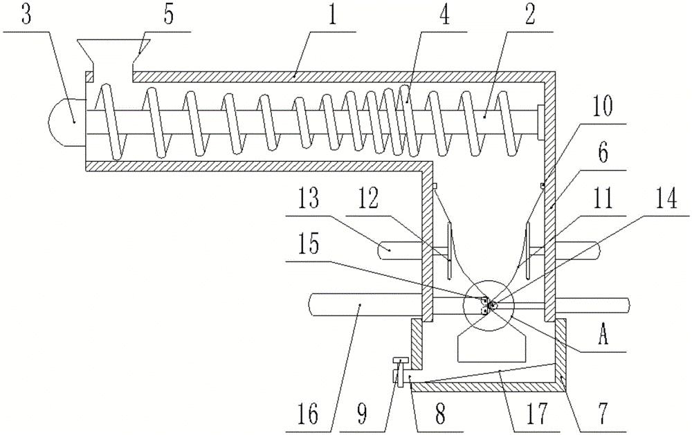
本实用新型是一种降低油料损耗的食品车间用榨油机,包括卧式榨油筒,卧式榨油筒外壁上设有加热套,卧式榨油筒内设有螺旋榨油输送轴,螺旋榨油输送轴连有旋转电机,螺旋榨油输送轴上设有螺旋桨叶,卧式榨油筒顶部一端设有进料斗且底部另外一端设有竖直向下设置的出料筒,出料筒底部连接有接收斗,接收斗一端设有出油口,出料筒内壁上设有环形支架,环形支架底部固定有底部开口的挤压网袋,出料筒内在挤压网袋两侧设有挤压板,挤压板连有挤压气缸,出料筒内底部在挤压网袋右侧设有一个右夹紧辊且左侧设有上下布置的两个左夹紧辊,右夹紧辊以及两个左夹紧辊均连有夹紧气缸。本实用新型充分将油分挤出,降低了油料的损耗。


