授权公布号:CN210045371U
一种食品加工用回弹式粉碎机
有效
申请
2019-04-16
申请公布
1970-01-01
授权
2020-02-11
预估到期
2029-04-16
| 申请号 | CN201920513384.5 |
| 申请日 | 2019-04-16 |
| 授权公布号 | CN210045371U |
| 授权公告日 | 2020-02-11 |
| 分类号 | B02C21/00;B02C4/00;B02C4/30;B02C4/42;B02C4/28;B02C7/08;B02C7/16;B02C7/12;B02C7/11 |
| 分类 | 破碎、磨粉或粉碎;谷物碾磨的预处理; |
| 申请人名称 | 天津阿尔发保健品有限公司 |
| 申请人地址 | 天津市滨海新区经济技术开发区黄海路170号4幢 |
专利法律状态
2020-02-11
授权
状态信息
授权
摘要
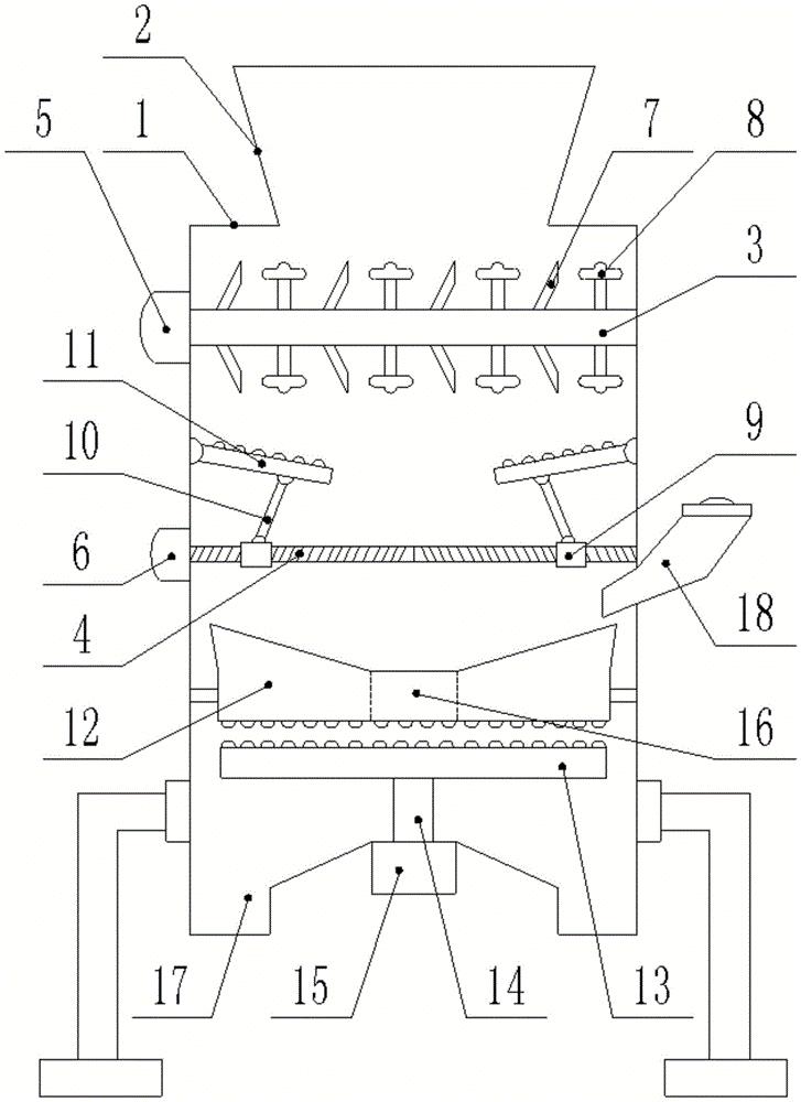
本实用新型是一种食品加工用回弹式粉碎机,包括粉碎机箱,粉碎机箱顶部设有进料口,粉碎机箱内在进料口下方依次设有粉碎辊、丝杠,粉碎辊连有粉碎电机,丝杠连有传动电机,粉碎辊上间隔设置有粉碎刀片和粉碎锤头,丝杠的两端设有正向螺纹段和反向螺纹段,正向螺纹段、反向螺纹段上均螺纹套接有丝母,丝母顶部铰接有连杆,连杆顶部铰接有回弹板,回弹板一侧铰接在粉碎机箱内壁上,粉碎机箱内在丝杠下方依次设有定磨盘和转磨盘,转磨盘底部连有旋转轴、旋转电机,定磨盘中部贯穿有下料孔,粉碎机箱底部两侧均设有出料口,粉碎机箱侧壁上在丝杠、定磨盘之间设有侧进料口,侧进料口上设有封闭盖板。本实用新型粉碎效果更好,满足食品添加需求。


