授权公布号:CN212915044U
一种奶粉车间过滤除尘装置
有效
申请
2021-02-24
申请公布
1970-01-01
授权
2021-04-09
预估到期
2031-02-24
| 申请号 | CN202120398706.3 |
| 申请日 | 2021-02-24 |
| 授权公布号 | CN212915044U |
| 授权公告日 | 2021-04-09 |
| 分类号 | B01D50/00;B01D46/00;B01D46/10 |
| 分类 | 一般的物理或化学的方法或装置; |
| 申请人名称 | 天津阿尔发保健品有限公司 |
| 申请人地址 | 天津市滨海新区经济技术开发区黄海路170号4幢 |
专利法律状态
2021-04-09
授权
状态信息
授权
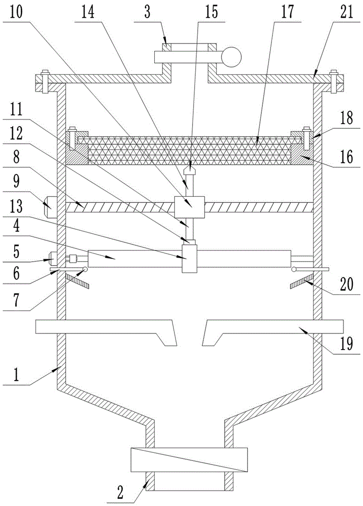
摘要
本实用新型是一种奶粉车间过滤除尘装置,包括处理箱,处理箱底部设有排渣口且顶部设有排气口,处理箱内从上到下依次设有过滤网装置、上下同步清理装置、滚筒吸附装置和进气装置,滚筒吸附装置包括若干个旋转安装在处理箱两侧壁之间的吸附滚筒,吸附滚筒通过链轮、链条连有驱动电机,处理箱两侧壁上在吸附滚筒下方设有若干湿气管,上下同步清理装置包括设置在吸附滚筒上方的丝杠,丝杠连有旋转电机,丝杠上的丝母底部通过第一竖杆连有安装板,安装板底部对应每个吸附滚筒均设有一个刮环,丝母的顶部通过第二竖杆连有刮板。本实用新型利用吸附滚筒对粉尘进行吸附,避免粉尘爆炸,之后再利用过滤网装置进一步过滤,除尘效率高,还可以在线清理。


