授权公布号:CN210059195U
一种洁净化月饼生产车间用风淋室
有效
申请
2019-04-16
申请公布
1970-01-01
授权
2020-02-14
预估到期
2029-04-16
| 申请号 | CN201920513385.X |
| 申请日 | 2019-04-16 |
| 授权公布号 | CN210059195U |
| 授权公告日 | 2020-02-14 |
| 分类号 | B08B5/02;B08B7/00;B08B13/00 |
| 分类 | 清洁; |
| 申请人名称 | 天津阿尔发保健品有限公司 |
| 申请人地址 | 天津市滨海新区经济技术开发区黄海路170号4幢 |
专利法律状态
2020-02-14
授权
状态信息
授权
摘要
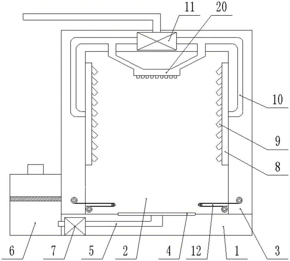
本实用新型是一种洁净化月饼生产车间用风淋室,包括回尘处理室、风淋洁净室、空腔处理室,风淋洁净室底部连有回尘风管,回尘风管连有集尘装置、回尘风机,风淋洁净室内两侧壁上设有风淋板,风淋板上设有出风口,风淋板连有供风管道、供风风机,风淋洁净室两侧壁下端均设有水平的支撑板,支撑板内侧壁上安装有导向辊,支撑板下方设有粘尘胶带转轴,粘尘胶带转轴一端旋转安装在风淋洁净室背板上,粘尘胶带转轴上套有粘尘胶带卷,粘尘胶带转轴在粘尘胶带卷外端螺纹旋接有限位螺母,空腔处理室内背板上旋转安装有收卷轴,收卷轴连有收卷电机,粘尘胶带卷的粘尘胶带经过导向辊、支撑板上表面之后卷绕在收卷轴上。本实用新型有效维护了洁净室的整洁。


