授权公布号:CN206182852U
一种可拆卸商品展示架
有效
申请
2016-08-09
申请公布
1970-01-01
授权
2017-05-24
预估到期
2026-08-09
| 申请号 | CN201620858429.9 |
| 申请日 | 2016-08-09 |
| 授权公布号 | CN206182852U |
| 授权公告日 | 2017-05-24 |
| 分类号 | A47F5/00 |
| 分类 | 家具;家庭用的物品或设备;咖啡磨;香料磨;一般吸尘器; |
| 申请人名称 | 广东创辉食品有限公司 |
| 申请人地址 | 广东省潮州市潮安区庵埠霞路南干渠工业区 |
专利法律状态
2017-08-01
专利申请权、专利权的转移
状态信息
专利权的转移;IPC(主分类):A47F5/00;登记生效日:20170713;变更事项:专利权人;变更前:杨泽滨;变更后:广东创辉食品有限公司;变更事项:地址;变更前:515600 广东省潮州市潮安县庵埠镇中山居委灯笼街13号;变更后:515600 广东省潮州市潮安区庵埠霞路南干渠工业区
2017-05-24
授权
状态信息
授权
摘要
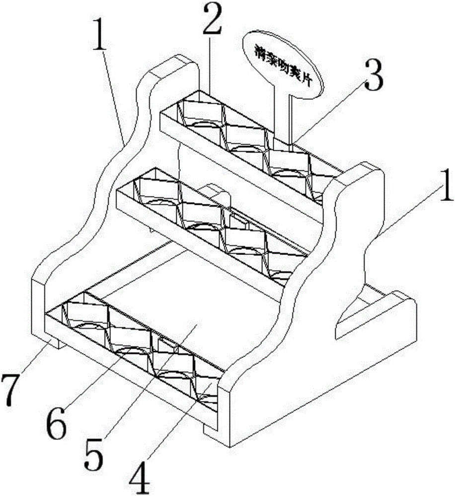
本实用新型公开了一种可拆卸商品展示架,包括至少两个支撑架,支撑架之间通过可拆卸方式连接有数个商品卡位架,商品卡位架包括商品卡位架本体,商品卡位架本体上设置有商品固定卡位槽,商品固定卡位槽内设置有数个可以自由组合的商品卡位口,商品固定卡位槽内还设有展示牌卡位口。本实用新型具有商品卡位口、展示牌卡位口和收纳盒,本实用新型结构简单、操作简捷、多功能化且可拆卸收纳、节省空间。


