授权公布号:CN216722976U
一种糖果压制成型设备
有效
申请
2021-12-02
申请公布
1970-01-01
授权
2022-06-14
预估到期
2031-12-02
| 申请号 | CN202123039856.4 |
| 申请日 | 2021-12-02 |
| 授权公布号 | CN216722976U |
| 授权公告日 | 2022-06-14 |
| 分类号 | A23G3/02;B30B11/04;B30B15/02 |
| 分类 | 其他类不包含的食品或食料;及其处理; |
| 申请人名称 | 广东创辉食品有限公司 |
| 申请人地址 | 广东省潮州市潮安区庵埠霞路南干渠工业区 |
专利法律状态
2022-06-14
授权
状态信息
授权
摘要
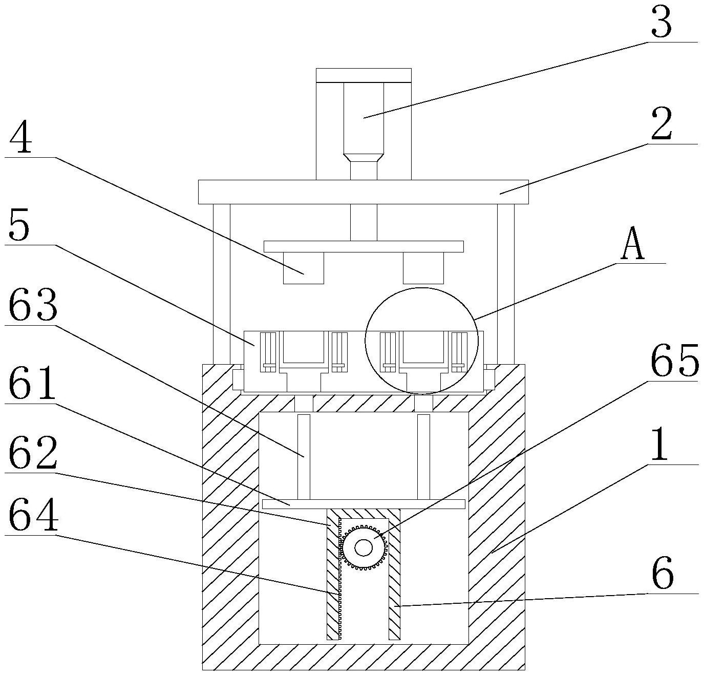
本实用新型涉及一种糖果压制成型设备,属于糖果制作技术领域,包括外壳主体,所述外壳主体的顶端滑动连接有模具主体,所述外壳主体的内部设有分离机构,所述分离机构包括n型块,所述n型块在外壳主体的内部活动,所述n型块的顶端固定连接有活动顶板,所述活动顶板的顶端固定连接有顶杆。通过在n型块的凹陷部内转动连接有齿轮,n型块上的凹陷部一侧固定连接有齿条,齿轮与齿条啮合,方便活动顶板的运动,方便顶杆活动,方便糖果进行脱模。通过滑动块和固定杆的设置,保证活动块的运动轨迹,避免活动块出现偏移的现象,通过将活动块设置为凹型结构,方便成型的糖果取出,同时避免糖果从滑槽进入第二空腔内。


