授权公布号:CN216410510U
一种鲜食玉米真空包装气密性检测设备
有效
申请
2021-12-06
申请公布
1970-01-01
授权
2022-04-29
预估到期
2031-12-06
| 申请号 | CN202123024320.5 |
| 申请日 | 2021-12-06 |
| 授权公布号 | CN216410510U |
| 授权公告日 | 2022-04-29 |
| 分类号 | G01M3/02 |
| 分类 | 测量;测试; |
| 申请人名称 | 吉林省辉庆农业开发有限公司 |
| 申请人地址 | 吉林省通化市辉南县庆阳镇庆阳村 |
专利法律状态
2022-04-29
授权
状态信息
授权
摘要
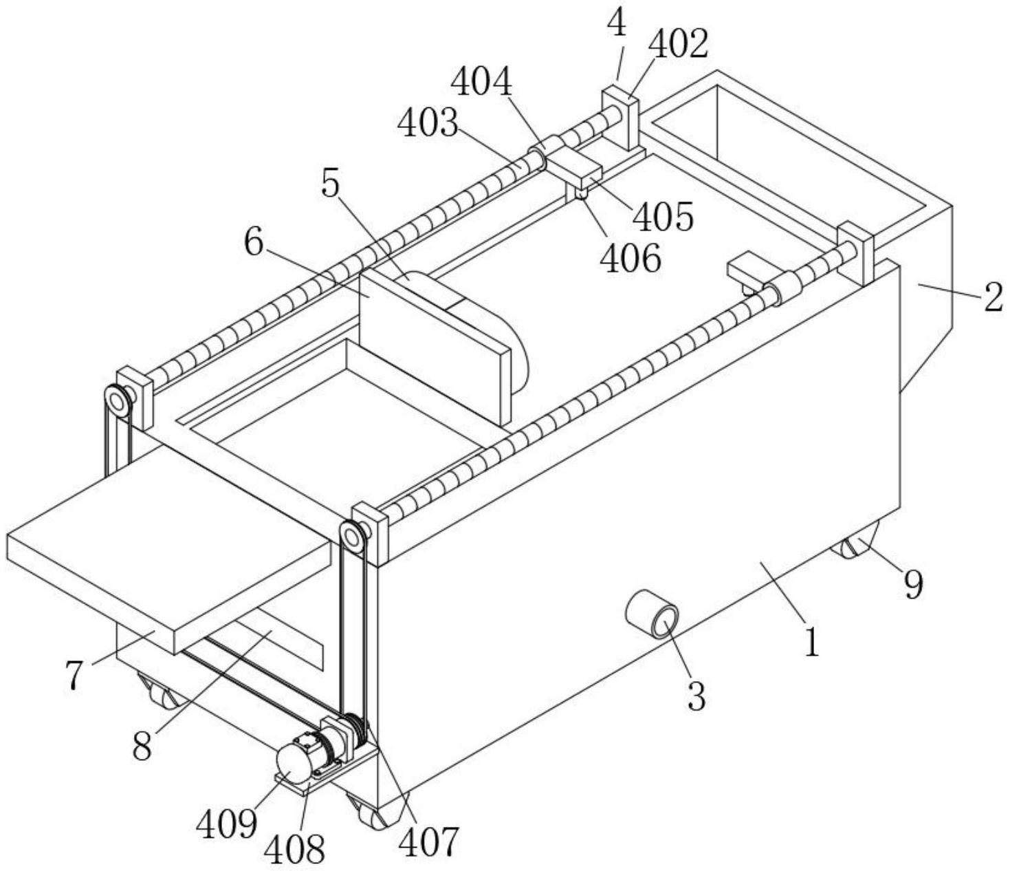
本实用新型公开了一种鲜食玉米真空包装气密性检测设备,属于检测设备技术领域,包括检测箱,检测箱一侧外表面连通设置有进料管,检测箱顶部开设有出料口,检测箱一侧外表面连通设置有排水管,以及输送机构,输送机构包括输送板和四个固定板,输送板活动嵌设于检测箱内表壁之间,每个固定板均固定连接于检测箱顶部,装有鲜食玉米的包装袋由进料管进入检测箱内部,并处于输送机构中的输送板上方,通过检测箱对包装袋记性检测,固定板上的螺纹杆转动,带动移动块移动,移动块带动吊板以及吊板底部的电动伸缩杆移动,从而带动输送板在检测箱内部移动,通过电动伸缩杆可以带动输送板升至检测箱出料口部位,提升包装袋取出便捷性。


