授权公布号:CN213992256U
一种面团提升机
有效
申请
2020-11-18
申请公布
1970-01-01
授权
2021-08-20
预估到期
2030-11-18
| 申请号 | CN202022679008.9 |
| 申请日 | 2020-11-18 |
| 授权公布号 | CN213992256U |
| 授权公告日 | 2021-08-20 |
| 分类号 | A21C9/08;B08B1/02 |
| 分类 | 焙烤;制作或处理面团的设备;焙烤用面团〔1,8〕; |
| 申请人名称 | 陕西振彰食品有限公司 |
| 申请人地址 | 陕西省西安市经开区草滩生态产业园尚稷路5168号 |
专利法律状态
2021-08-20
授权
状态信息
授权
摘要
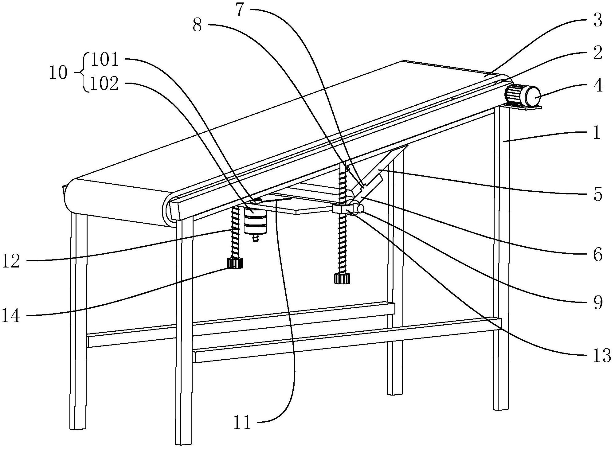
本申请涉及一种面团提升机,涉及食品加工输送设备领域。包括机架、传送辊、输送带和电机,所述传送辊设置有两根,所述传送辊与机架转动连接,所述输送带绕设于两根传送辊上,所述输送带倾斜设置,所述电机用于驱动其中一个传送辊转动,还包括清理组件,所述清理组件设置于输送带下方,所述清理组件包括刮刀和刀座,所述刮刀长度方向与传送辊轴线方向平行,所述刮刀和刀座可拆卸连接,所述刀座设置于机架上,所述刮刀远离刀座的一侧与输送带紧密贴合。本申请具有方便清理输送带表面粘附的面团的效果。


