授权公布号:CN216147871U
一种智能化程度高的节能环保型多功能烤箱
有效
申请
2021-09-18
申请公布
1970-01-01
授权
2022-04-01
预估到期
2031-09-18
| 申请号 | CN202122277694.1 |
| 申请日 | 2021-09-18 |
| 授权公布号 | CN216147871U |
| 授权公告日 | 2022-04-01 |
| 分类号 | A47J37/06 |
| 分类 | 家具;家庭用的物品或设备;咖啡磨;香料磨;一般吸尘器; |
| 申请人名称 | 陕西振彰食品有限公司 |
| 申请人地址 | 陕西省西安市经开区草滩生态产业园尚稷路5168号 |
专利法律状态
2022-04-01
授权
状态信息
授权
摘要
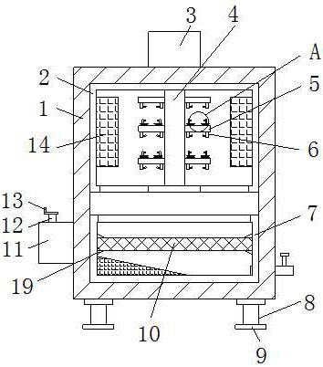
本实用新型公开了一种智能化程度高的节能环保型多功能烤箱,包括操作箱,所述操作箱内腔的顶部固定连接有烘烤箱,所述操作箱顶部的中心处固定安装有电机,所述电机的底部固定连接有转杆,所述转杆的底部贯穿至烘烤箱的内腔固定连接有放置板。本实用新型通过电机、转杆和放置板的设置,可以起到转动烘烤的作用,避免了出现烘烤不均匀的现象,通过过滤板和过滤箱的设置,可以起到过滤环保的作用,避免了出现大量食用油浪费的现象,通过手把、螺杆、螺帽、斜块、滑杆和限位夹板的设置,可以起到便于拆卸的作用,避免了过滤板损坏时,导致出现无法拆卸维修的现象,同时解决了现有的烤箱节能环保效果不好的问题。


