授权公布号:CN208761018U
一种自动化刀削面装袋设备
有效
申请
2018-07-24
申请公布
1970-01-01
授权
2019-04-19
预估到期
2028-07-24
| 申请号 | CN201821177142.5 |
| 申请日 | 2018-07-24 |
| 授权公布号 | CN208761018U |
| 授权公告日 | 2019-04-19 |
| 分类号 | B65B51/10;B65B61/06 |
| 分类 | 输送;包装;贮存;搬运薄的或细丝状材料; |
| 申请人名称 | 河南创大粮食加工有限公司 |
| 申请人地址 | 河南省开封市叶县文化路东段产业集聚区 |
专利法律状态
2019-04-19
授权
状态信息
授权
摘要
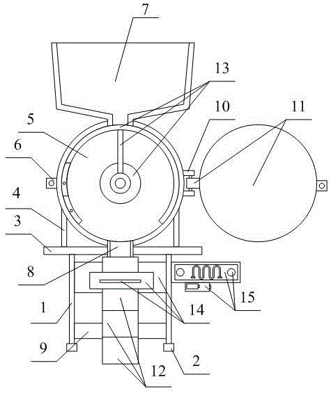
本实用新型提供一种自动化刀削面装袋设备,包括支撑架,防滑套,工作板,支撑柱,工作筒,连接片,放置斗,下料头,收集盒,连接条,密封门,储放袋,调节架结构,切割架结构和密封架结构,所述的防滑套套接在支撑架的下端;所述的工作板焊接在支撑架的上端;所述的支撑柱下端分别焊接在工作板上表面的左右两侧,上端分别焊接在工作筒下部的左右两侧;所述的连接片分别焊接在工作筒的左侧中间部位和密封门右侧的中间部位。本实用新型的有益效果为:通过调节架结构的设置,能够方便的调节下落孔与外界空间的大小,同时也方便的配合旋转板下部的开口处,输送指定量的刀削面,进而方便的使用该刀削面装袋设备。


