授权公布号:CN209047318U
一种智能化转动式挂面生产和面装置
有效
申请
2018-07-24
申请公布
1970-01-01
授权
2019-07-02
预估到期
2028-07-24
| 申请号 | CN201821176430.9 |
| 申请日 | 2018-07-24 |
| 授权公布号 | CN209047318U |
| 授权公告日 | 2019-07-02 |
| 分类号 | A21C1/14;A21C1/02;B08B9/36 |
| 分类 | 焙烤;制作或处理面团的设备;焙烤用面团〔1,8〕; |
| 申请人名称 | 河南创大粮食加工有限公司 |
| 申请人地址 | 河南省平顶山市叶县文化路东段产业集聚区 |
专利法律状态
2021-12-31
专利权质押合同登记的生效、变更及注销
状态信息
专利权质押合同登记的生效;IPC(主分类):A21C1/14;登记号:Y2021980015064;登记生效日:20211215;出质人:河南创大粮食加工有限公司;质权人:河南叶县农村商业银行股份有限公司;实用新型名称:一种智能化转动式挂面生产和面装置;申请日:20180724;授权公告日:20190702
2019-07-02
授权
状态信息
授权
摘要
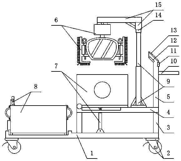
本实用新型提供一种智能化转动式挂面生产和面装置,包括底座,移动轮,立柱,承重板,控制架,和面请洗刷装置,翻斗和面箱装置,提示储存箱结构,液压升降器,手扶架,控制开关,中央处理器,触摸屏,轴承和吊架。本实用新型感光报警器的设置,有利于提示工作人员和面程序已完成,便于进行下一步加工程序,解决了和面完成后没有提示功能的问题;电动液压柱和和面箱的设置,有利于将和面完成后的面团向左翻动至储存箱内部,解决了和面完成后不能将和面箱内部面团自动翻出的问题;刷板和毛刷的设置,有利于对和面箱内部进行刷洗清理,解决了不能进行内部刷洗的问题。


